Adapter z chwytu Weldon na złącze do CoroMill® 327 327-12B30EC-06 ID:5758726 Sandvik
Cena regularna:
Cena regularna:
towar niedostępny
dodaj do przechowalni
Opis
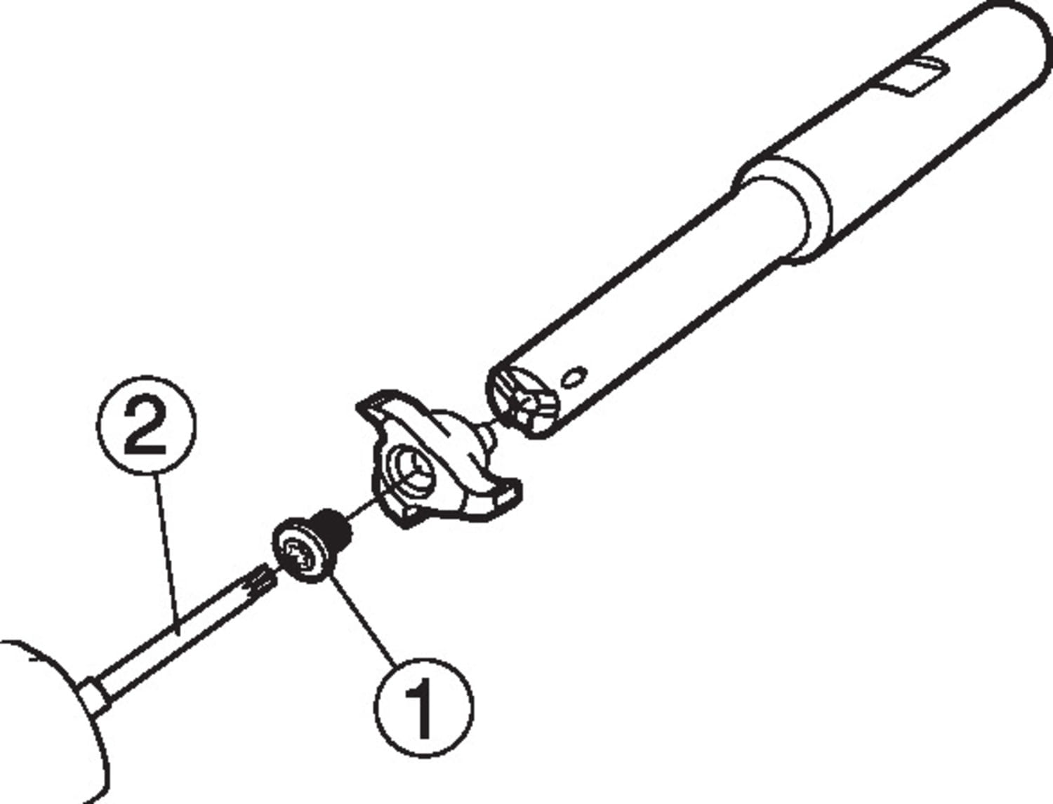
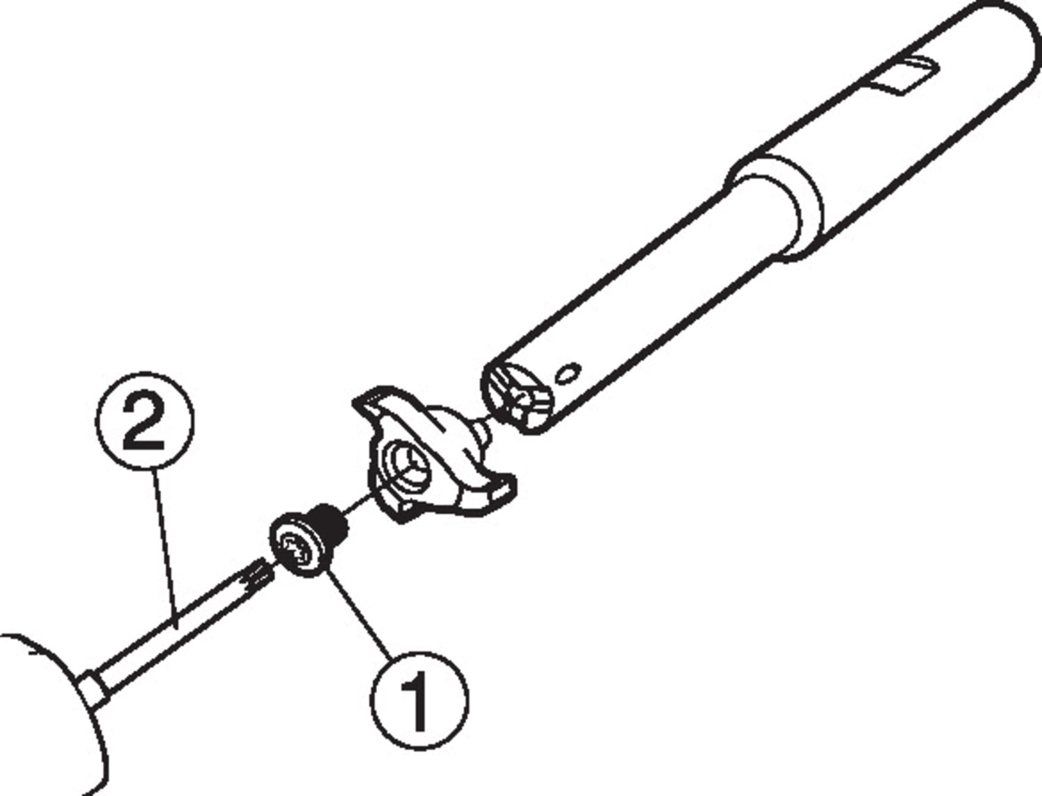
Adapter z chwytu Weldon na złącze do CoroMill® 327

| Podstawowe informacje | |
|---|---|
| Product Description - Pl-Pl | Adapter z chwytu Weldon na złącze do CoroMill® 327 |
| Rodzina produktów | 1018 |
| Product Subfamily Code (Tsyc) | 327-xxB (7) |
| Rodzina produktów | Carriers for Concept Inserts |
| Country Of Origin | AT |
| Wymiary | |
| Dconms Connection Diameter | 0.472441 inch |
| Dconms Connection Diameter | 12 mm |
| Dconws Connection Diameter | 0.23622 inch |
| Dconws Connection Diameter | 6 mm |
| Lf Functional Length | 3.40551 inch |
| Lf Functional Length | 86.5 mm |
| Waga | 0.220462 lb |
| Waga | 100 g |
| Parametry techniczne | |
| Adintms Adaptive Interface Machine Direction | Weldon (DIN6535-HB) -metric: 12 |
| Adintws Adaptive Interface Workpiece Direction | CoroMill 327 -size 06 |
| Bmc Body Material Code | Carbide |
| Cnsc Coolant Entry Style Code | 1: axial concentric entry |
| Cxsc Coolant Exit Style Code | 3: axial inclined exit |
| Dcp Data Chip Provision | no |
| Dpc Damping Property | no |
| Rpmx Rotational Speed Maximum | 40000 1/min |
| Stdno Standard Number | ISO3338-2 |
| Inne parametry | |
| Ean Number | 12300912 |