Adapter ze złącza MAS-BT 403 na złącze Weldon A2B20-3016063 ID:5721933 Sandvik
Cena regularna:
Cena regularna:
towar niedostępny
dodaj do przechowalni
Opis
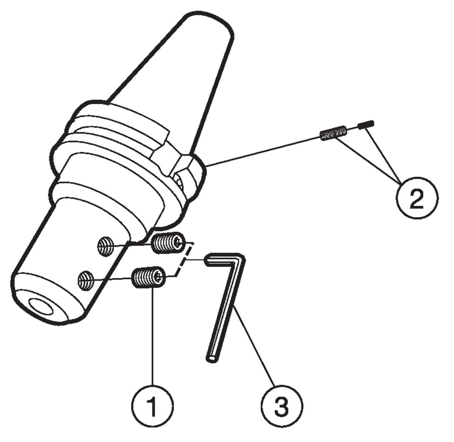
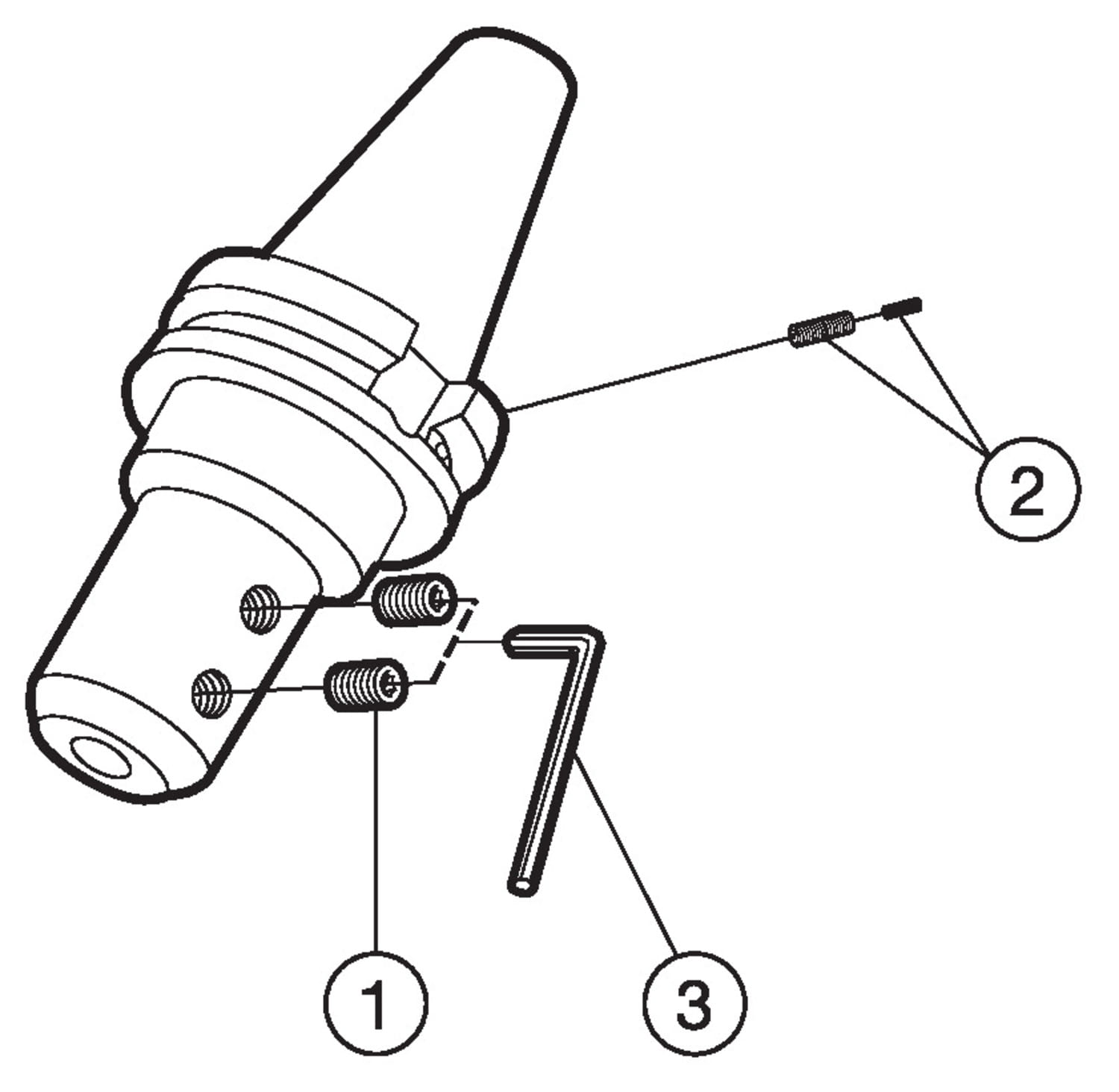
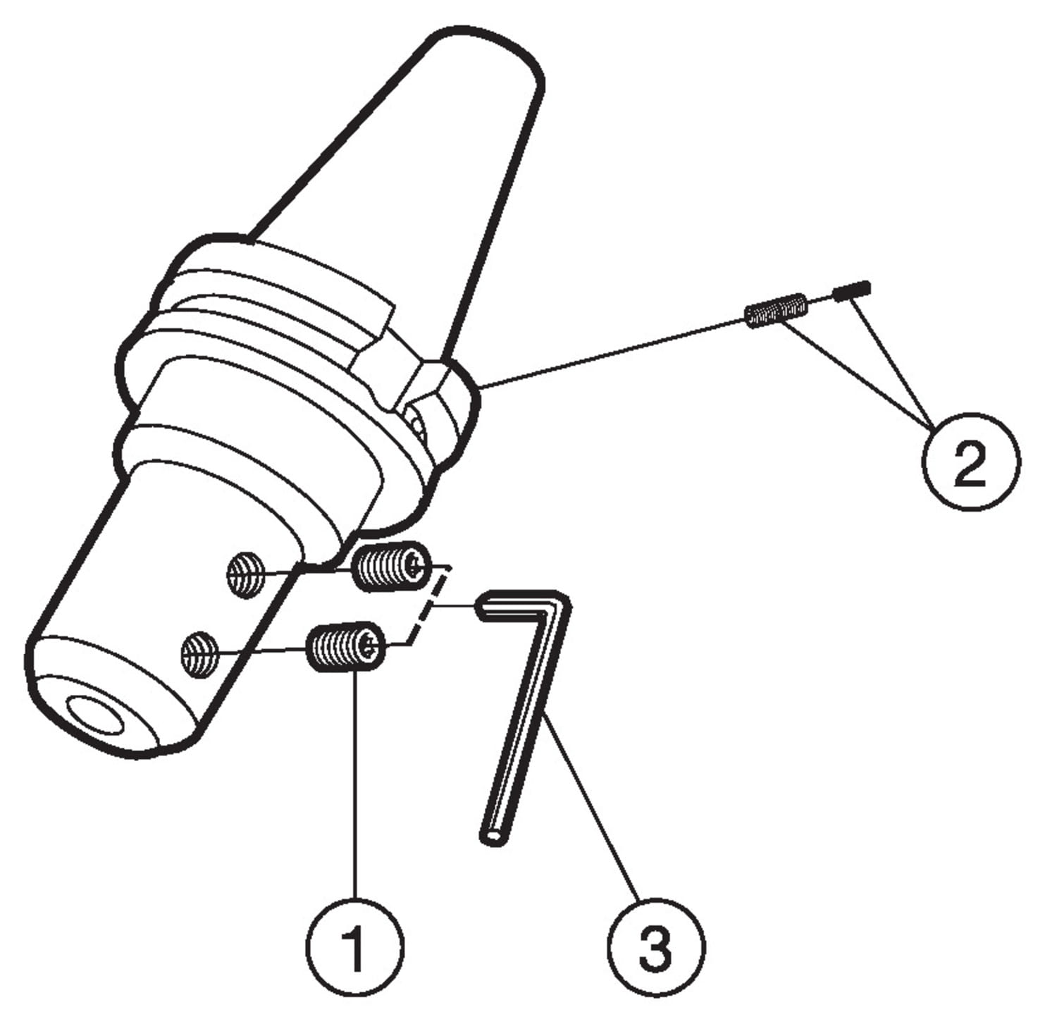
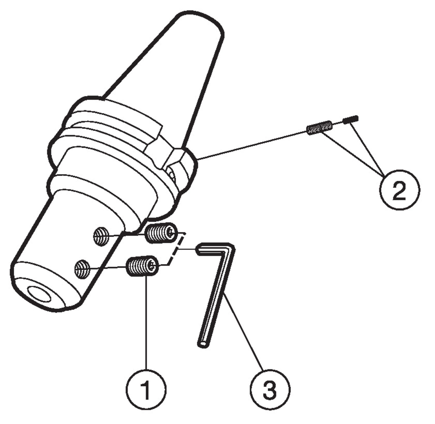
Adapter ze złącza MAS-BT 403 na złącze Weldon

| Podstawowe informacje | |
|---|---|
| Product Description - Pl-Pl | Adapter ze złącza MAS-BT 403 na złącze Weldon |
| Rodzina produktów | 2099 |
| Product Subfamily Code (Tsyc) | A2B20 (3) |
| Rodzina produktów | System Products |
| Country Of Origin | SI |
| Wymiary | |
| Dconws Connection Diameter | 0.629921 inch |
| Dconws Connection Diameter | 16 mm |
| Dfc Functional Diameter | 1.25 inch |
| Dfc Functional Diameter | 31.75 mm |
| Lf Functional Length | 2.48031 inch |
| Lf Functional Length | 63 mm |
| Waga | 1.81882 lb |
| Waga | 825 g |
| Parametry techniczne | |
| Adintms Adaptive Interface Machine Direction | MAS-BT403 -AD central coolant - BT30 |
| Adintws Adaptive Interface Workpiece Direction | Weldon -metric - 16 |
| Bmc Body Material Code | Steel |
| Cnsc Coolant Entry Style Code | 1: axial concentric entry |
| Cxsc Coolant Exit Style Code | 1: axial concentric exit |
| Dcp Data Chip Provision | yes |
| Dcps Data Chip Provision Size | D10/H4,5 |
| Dpc Damping Property | no |
| Rpmx Rotational Speed Maximum | 25000 1/min |
| Inne parametry | |
| Ean Number | 12360574 |