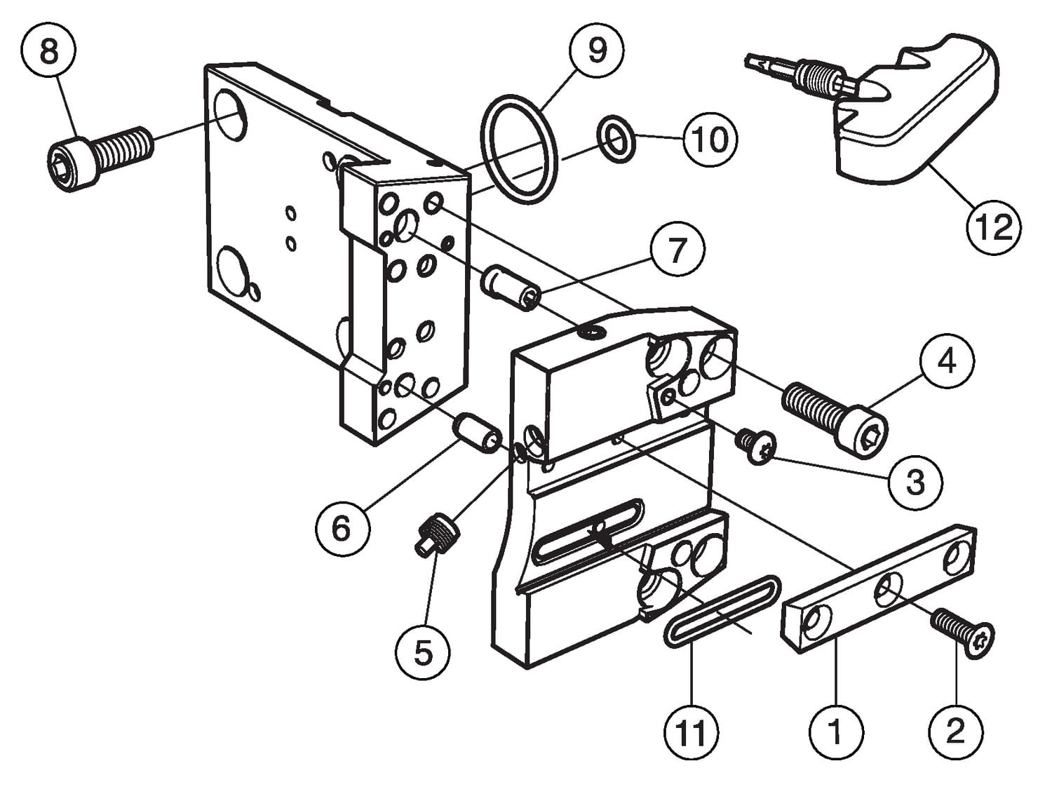
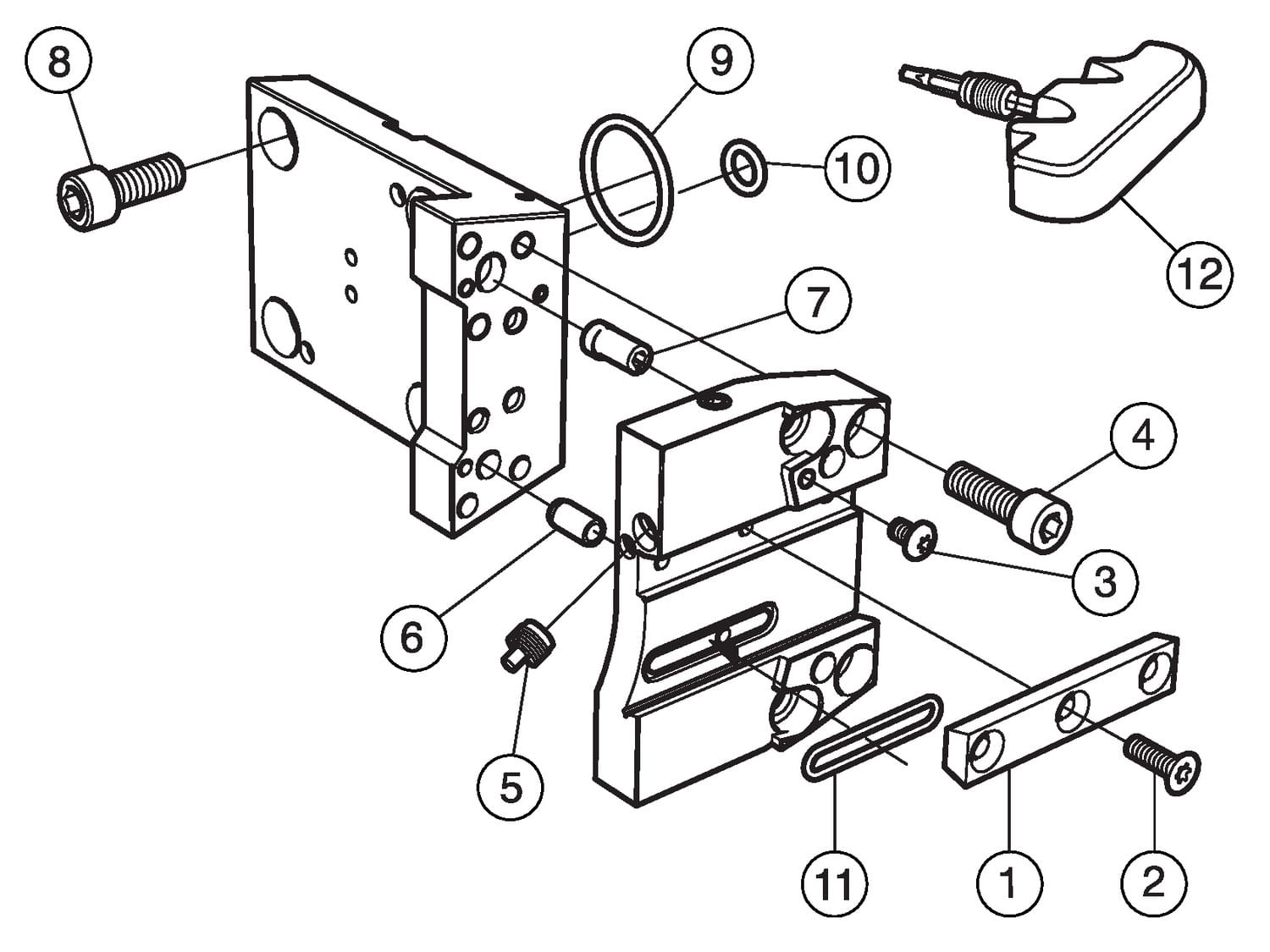
Adapter ze złączem głowicy rewolwerowej DMG MORI do listew APBL-MS42A-25-HP ID:8513849 Sandvik
Cena regularna:
Cena regularna:
towar niedostępny
dodaj do przechowalni
Opis
Adapter ze złączem głowicy rewolwerowej DMG MORI do listew

| Podstawowe informacje | |
|---|---|
| Product Description - Pl-Pl | Adapter ze złączem głowicy rewolwerowej DMG MORI do listew |
| Rodzina produktów | 1147 |
| Product Subfamily Code (Tsyc) | APBR/L-MS-HP |
| Rodzina produktów | System Products |
| Country Of Origin | DE |
| Wymiary | |
| Dconms Connection Diameter | 1.65354 inch |
| Dconms Connection Diameter | 42 mm |
| Lf Functional Length | 3.0315 inch |
| Lf Functional Length | 77 mm |
| Oah Overall Height | 3.07087 inch |
| Oah Overall Height | 78 mm |
| Oaw Overall Width | 4.62598 inch |
| Oaw Overall Width | 117.5 mm |
| Waga | 2.42509 lb |
| Waga | 1.1 g |
| Parametry techniczne | |
| Adintms Adaptive Interface Machine Direction | Mori Seiki non-driven turret interface -size MS42A |
| Adintws Adaptive Interface Workpiece Direction | Parting off and grooving blade -size 25L |
| Baws Workpiece Side Body Angle | 0 deg |
| Cnsc Coolant Entry Style Code | 7: decentral over flange and axial |
| Cxsc Coolant Exit Style Code | 0: no coolant exit |
| Hand Hand | L |
| Inne parametry | |
| Ean Number | 7323227847320 |