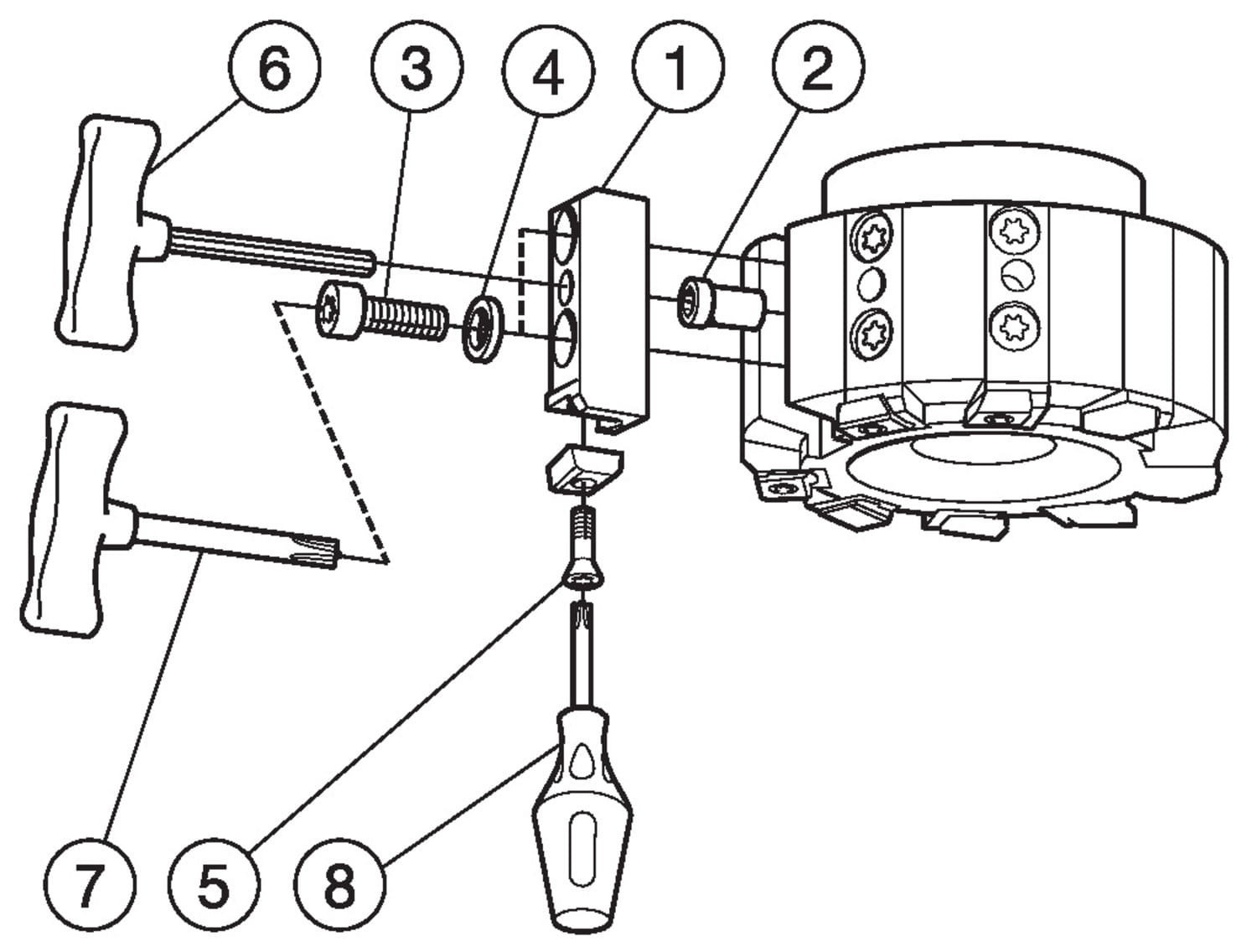
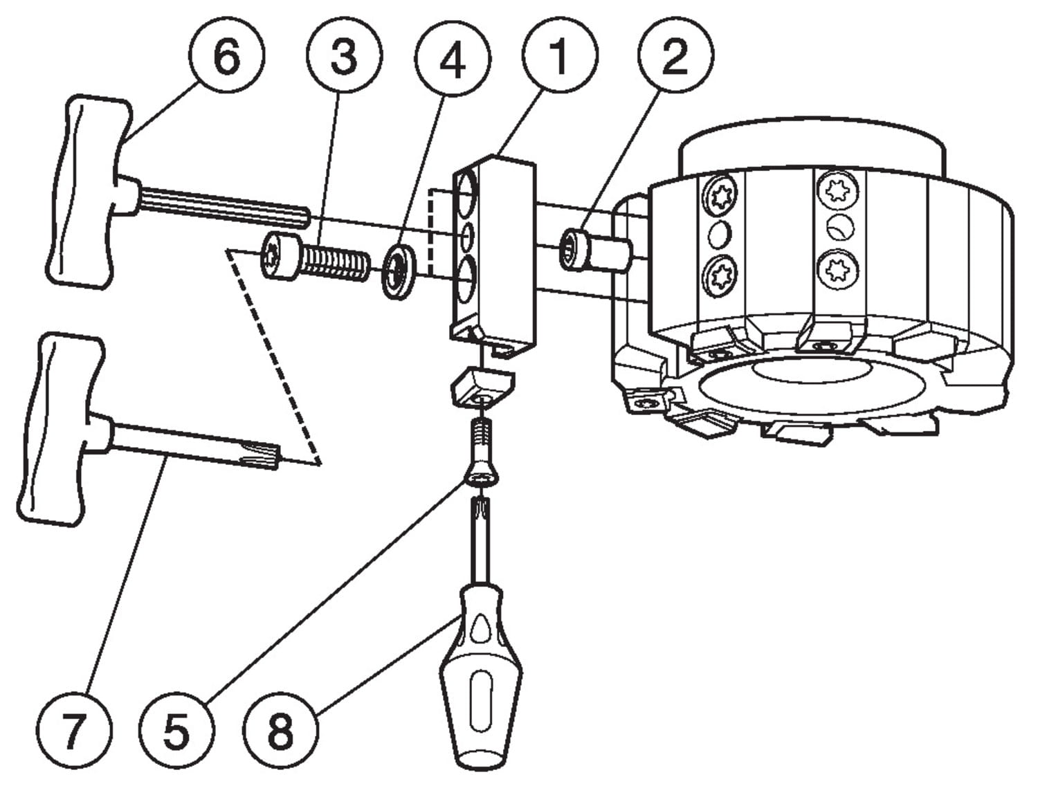
Assembly item R260.8-3-12F ID:5744052 Sandvik
Cena regularna:
Cena regularna:
towar niedostępny
dodaj do przechowalni
Opis
Assembly item

| Podstawowe informacje | |
|---|---|
| Product Description - Pl-Pl | Assembly item |
| Rodzina produktów | 1032 |
| Product Subfamily Code (Tsyc) | R/L260.8 (C) |
| Rodzina produktów | Spares & Accessories |
| Country Of Origin | IN |
| Inne parametry | |
| Ean Number | 10771714 |