CoroBore® 826, wytaczadło wykończeniowe 826-39TC09-C3HP ID:6873008 Sandvik
Cena regularna:
Cena regularna:
towar niedostępny
dodaj do przechowalni
Opis
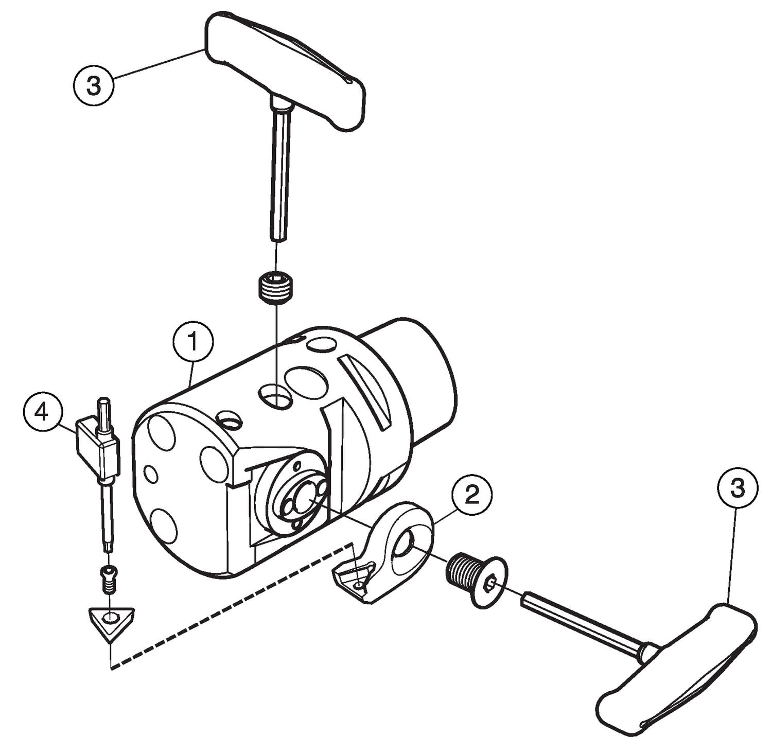
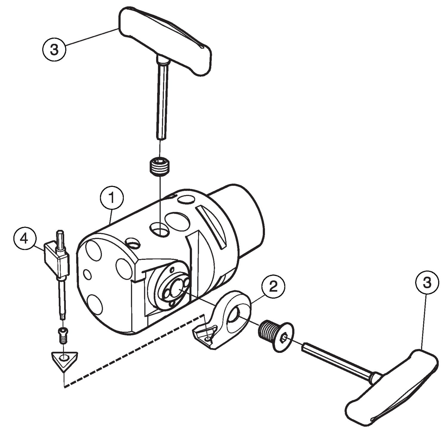
CoroBore® 826, wytaczadło wykończeniowe

| Podstawowe informacje | |
|---|---|
| Product Description - Pl-Pl | CoroBore® 826, wytaczadło wykończeniowe |
| Rodzina produktów | 2076 |
| Product Subfamily Code (Tsyc) | 826..TC-CxHP |
| Rodzina produktów | System Products |
| Country Of Origin | NL |
| Wymiary | |
| Średnica skrawania | 1.51378 inch |
| Średnica skrawania | 38.45 mm |
| Dconms Connection Diameter | 1.25984 inch |
| Dconms Connection Diameter | 32 mm |
| Średnica skrawania | 1.55709 inch |
| Średnica skrawania | 39.55 mm |
| Lf Functional Length | 1.88976 inch |
| Lf Functional Length | 48 mm |
| Waga | 1.41096 lb |
| Waga | 0.64 g |
| Parametry techniczne | |
| Adintms Adaptive Interface Machine Direction | Coromant Capto (bolt and segment clamping) -size C3 |
| Adjlx Maximum Adjustment Limit | 0.021654 inch |
| Adjlx Maximum Adjustment Limit | 0.55 mm |
| Bmc Body Material Code | Steel |
| Cnsc Coolant Entry Style Code | 3: axial concentric and radial entry |
| Cutint Master Part 2 Of Cutting Item Interface Identifiers | TCMT 090204 (RE<0.4) |
| Dcp Data Chip Provision | no |
| Dpc Damping Property | no |
| Kapr Tool Cutting Edge Angle | 92 deg |
| Stdno Standard Number | ISO26623-1 |
| Inne parametry | |
| Ean Number | 7323220290253 |