CoroBore® 826, wytaczadło wykończeniowe 826-57TC11-C5HP ID:6873026 Sandvik
Cena regularna:
Cena regularna:
towar niedostępny
dodaj do przechowalni
Opis
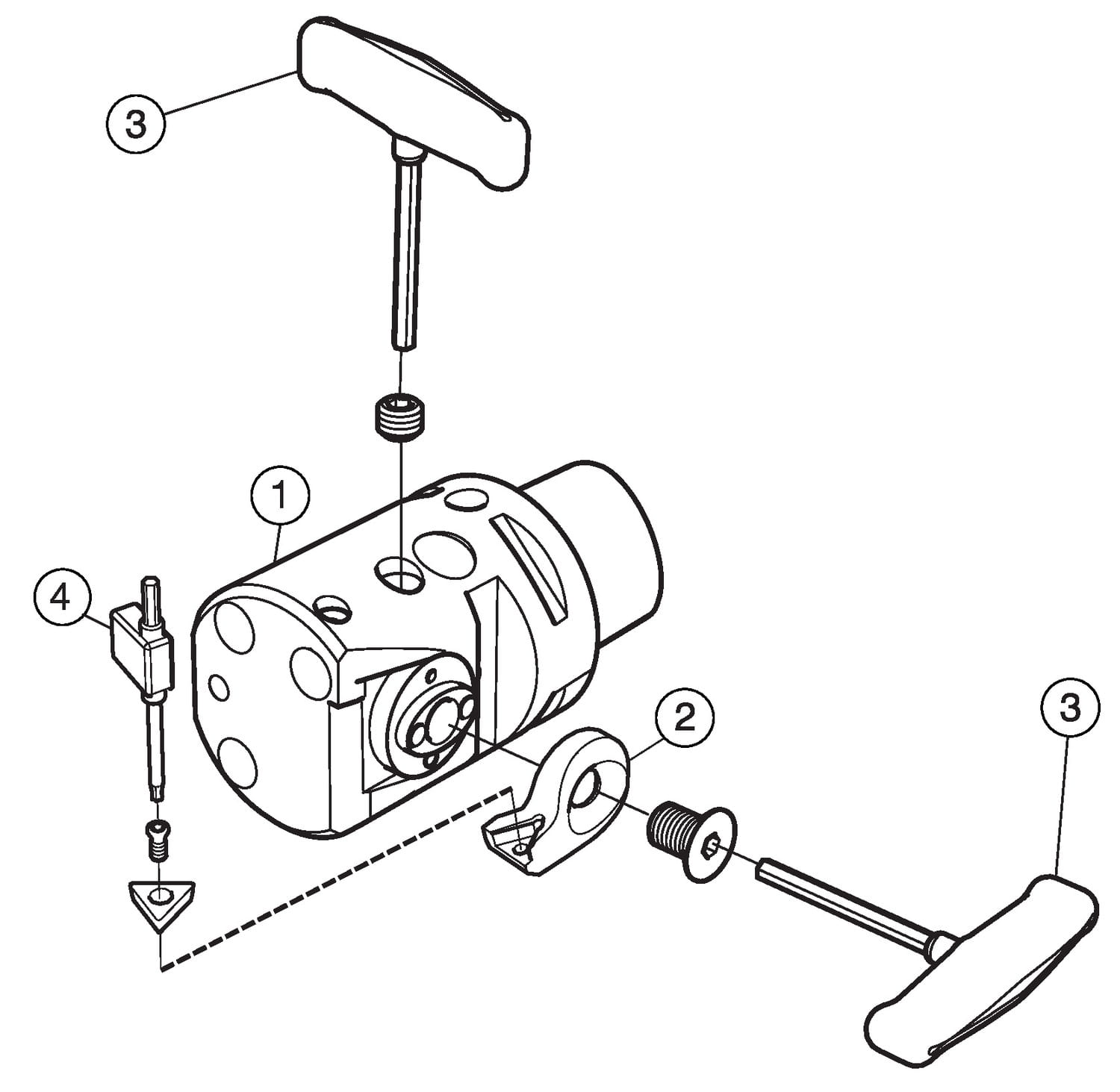
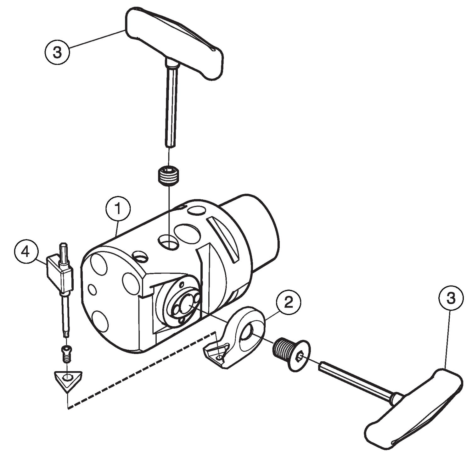
CoroBore® 826, wytaczadło wykończeniowe

| Podstawowe informacje | |
|---|---|
| Product Description - Pl-Pl | CoroBore® 826, wytaczadło wykończeniowe |
| Rodzina produktów | 2076 |
| Product Subfamily Code (Tsyc) | 826..TC-CxHP |
| Rodzina produktów | System Products |
| Country Of Origin | NL |
| Wymiary | |
| Średnica skrawania | 2.2185 inch |
| Średnica skrawania | 56.35 mm |
| Dconms Connection Diameter | 1.9685 inch |
| Dconms Connection Diameter | 50 mm |
| Średnica skrawania | 2.26969 inch |
| Średnica skrawania | 57.65 mm |
| Lf Functional Length | 2.59843 inch |
| Lf Functional Length | 66 mm |
| Waga | 3.20773 lb |
| Waga | 1.455 g |
| Parametry techniczne | |
| Adintms Adaptive Interface Machine Direction | Coromant Capto (bolt and segment clamping) -size C5 |
| Adjlx Maximum Adjustment Limit | 0.025591 inch |
| Adjlx Maximum Adjustment Limit | 0.65 mm |
| Bmc Body Material Code | Steel |
| Cnsc Coolant Entry Style Code | 3: axial concentric and radial entry |
| Cutint Master Part 2 Of Cutting Item Interface Identifiers | TCMT 110304 (RE<0.4) |
| Dcp Data Chip Provision | no |
| Dpc Damping Property | no |
| Kapr Tool Cutting Edge Angle | 92 deg |
| Stdno Standard Number | ISO26623-1 |
| Inne parametry | |
| Ean Number | 7323220290536 |