CoroCut® 1-2, głowica do profilowania SL70-R123G15A-HP ID:5924560 Sandvik
Cena regularna:
Cena regularna:
towar niedostępny
dodaj do przechowalni
Opis
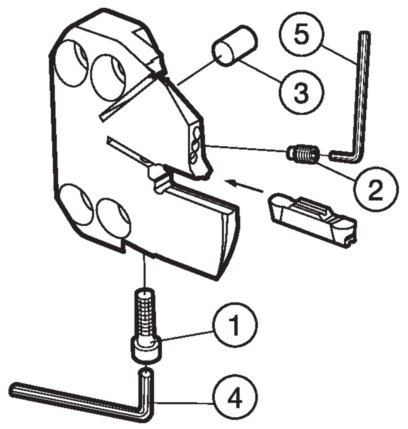
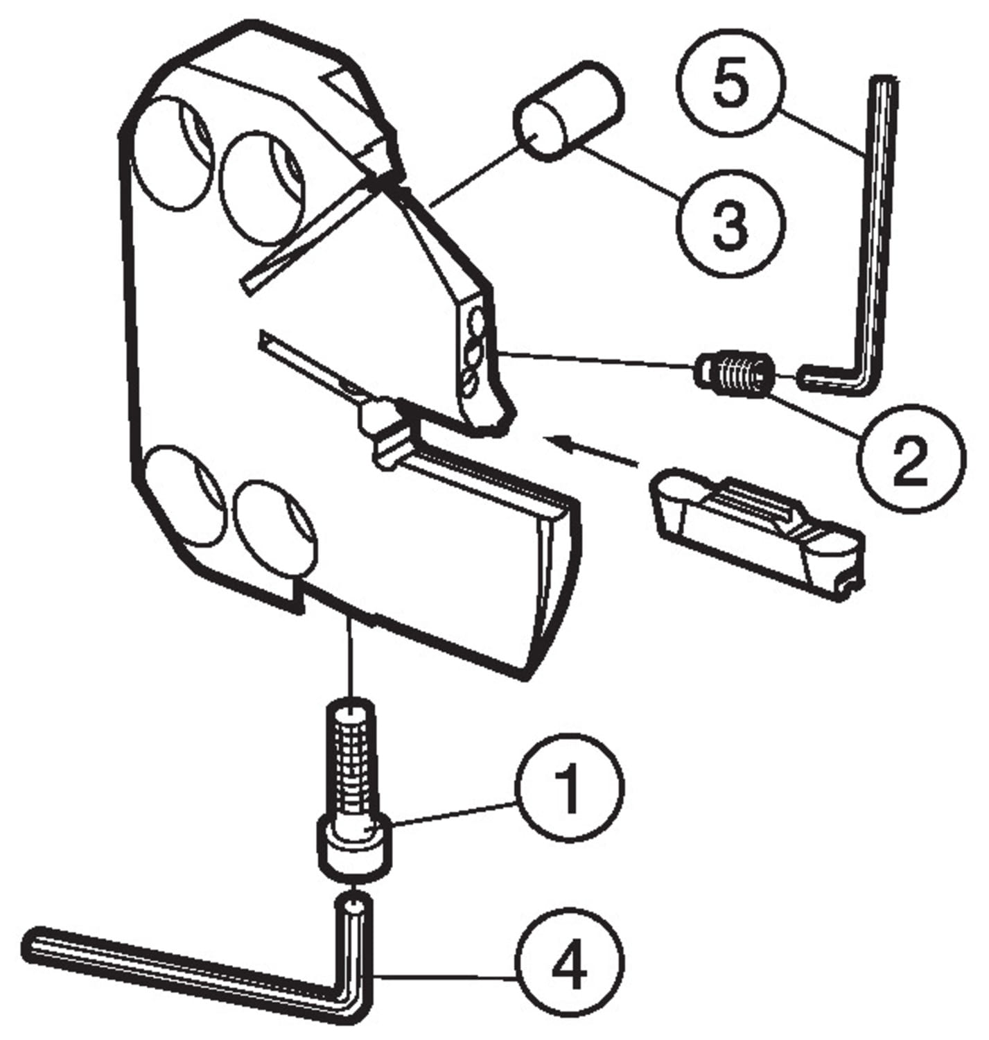
CoroCut® 1-2, głowica do profilowania

| Podstawowe informacje | |
|---|---|
| Product Description - Pl-Pl | CoroCut® 1-2, głowica do profilowania |
| Rodzina produktów | 1073 |
| Product Subfamily Code (Tsyc) | SL70-R/L123..A-HP |
| Rodzina produktów | Carriers for Concept Inserts |
| Country Of Origin | IN |
| Wymiary | |
| Dmin1 Minimum Bore Diameter | 3.93701 inch |
| Dmin1 Minimum Bore Diameter | 100 mm |
| Lf Functional Length | 0.610236 inch |
| Lf Functional Length | 15.5 mm |
| Waga | 0.522496 lb |
| Waga | 237 g |
| Parametry techniczne | |
| Adintms Adaptive Interface Machine Direction | SL head (screw mounted) -size 70 |
| Baws Workpiece Side Body Angle | 90 deg |
| Cdx Cutting Depth Maximum | 0.590551 inch |
| Cdx Cutting Depth Maximum | 15 mm |
| Cnsc Coolant Entry Style Code | 1: axial concentric entry |
| Cutint Master Part 2 Of Cutting Item Interface Identifiers | CoroCut 2 -size G (N123G2-GM) |
| Cxsc Coolant Exit Style Code | 7: axial inclined focused exit with nozzle |
| Hand Hand | R |
| Ohx Maximum Overhang | 0.551181 inch |
| Ohx Maximum Overhang | 14 mm |
| Ssc Insert Seat Size Code | G |
| Inne parametry | |
| Ean Number | 25924560 |