CoroCut® 1-2, głowica do profilowania SL70-R123H11RC-HP ID:7582574 Sandvik
Cena regularna:
Cena regularna:
towar niedostępny
dodaj do przechowalni
Opis
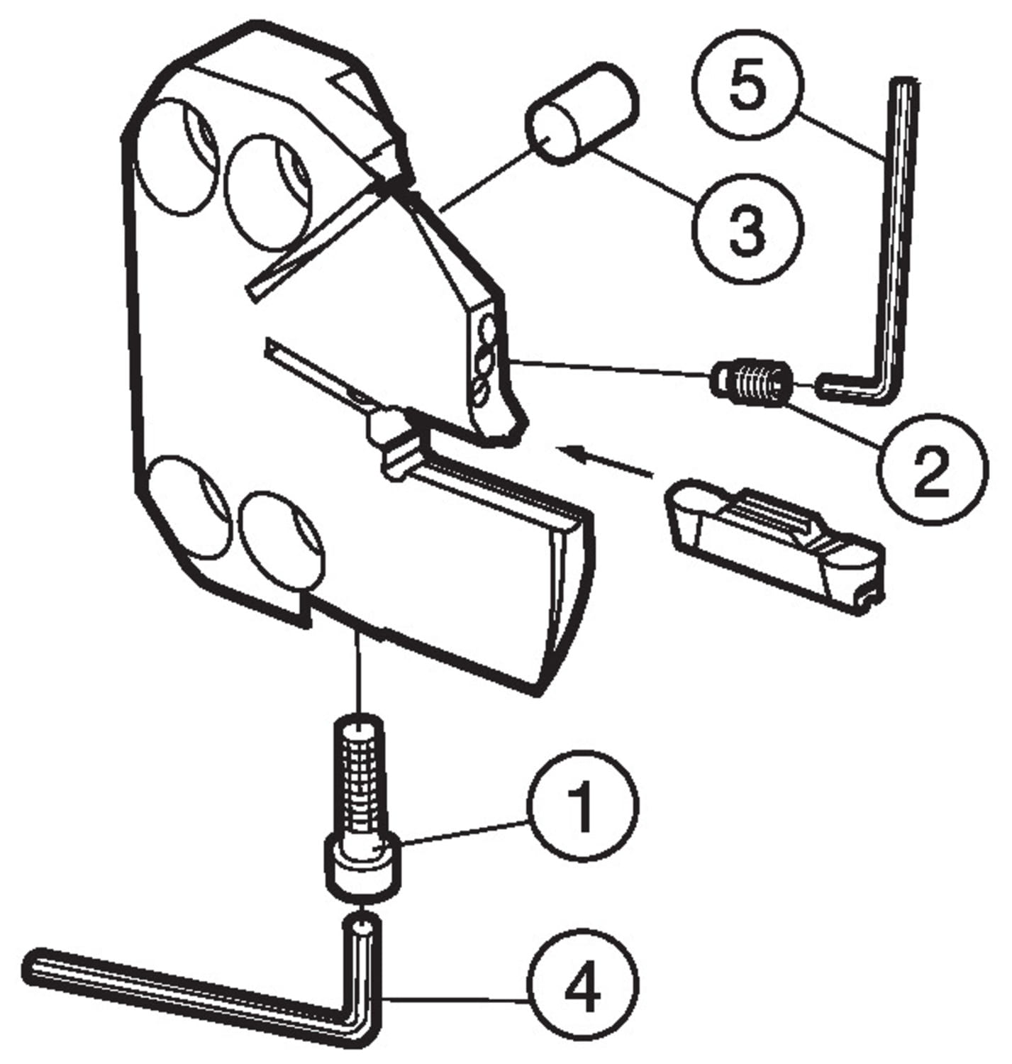
CoroCut® 1-2, głowica do profilowania

| Podstawowe informacje | |
|---|---|
| Product Description - Pl-Pl | CoroCut® 1-2, głowica do profilowania |
| Rodzina produktów | 1073 |
| Product Subfamily Code (Tsyc) | SL70-R/L123..RC-HP (SF) |
| Rodzina produktów | Carriers for Concept Inserts |
| Country Of Origin | IN |
| Wymiary | |
| Dmin1 Minimum Bore Diameter | 3.93701 inch |
| Dmin1 Minimum Bore Diameter | 100 mm |
| Lf Functional Length | 0.610236 inch |
| Lf Functional Length | 15.5 mm |
| Waga | 0.628318 lb |
| Waga | 285 g |
| Parametry techniczne | |
| Adintms Adaptive Interface Machine Direction | SL head (screw mounted) -size 70 |
| Baws Workpiece Side Body Angle | 90 deg |
| Cdx Cutting Depth Maximum | 0.433071 inch |
| Cdx Cutting Depth Maximum | 11 mm |
| Cnsc Coolant Entry Style Code | 1: axial concentric entry |
| Cutint Master Part 2 Of Cutting Item Interface Identifiers | CoroCut 1 -size H1R 1.5 |
| Cxsc Coolant Exit Style Code | 8: decentral focused exit with nozzles |
| Hand Hand | R |
| Ohx Maximum Overhang | 0.610236 inch |
| Ohx Maximum Overhang | 15.5 mm |
| Ssc Insert Seat Size Code | HR |
| Inne parametry | |
| Ean Number | 7323223792990 |