CoroCut® 1-2, głowica do profilowania SL70-R123K45A-HP ID:5857806 Sandvik
Cena regularna:
Cena regularna:
towar niedostępny
dodaj do przechowalni
Opis
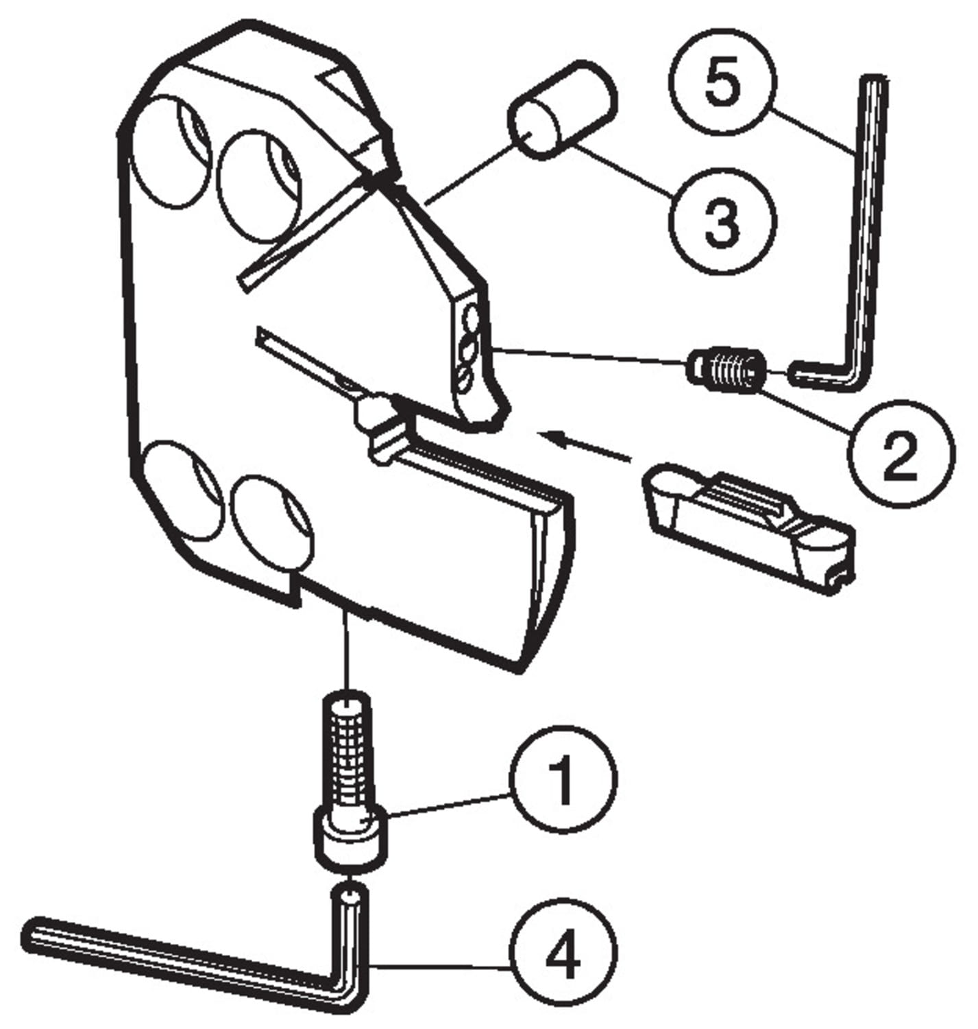
CoroCut® 1-2, głowica do profilowania

| Podstawowe informacje | |
|---|---|
| Product Description - Pl-Pl | CoroCut® 1-2, głowica do profilowania |
| Rodzina produktów | 1073 |
| Product Subfamily Code (Tsyc) | SL70-R/L123..A-HP |
| Rodzina produktów | Carriers for Concept Inserts |
| Country Of Origin | IN |
| Wymiary | |
| Dmin1 Minimum Bore Diameter | 4.72441 inch |
| Dmin1 Minimum Bore Diameter | 120 mm |
| Lf Functional Length | 0.708661 inch |
| Lf Functional Length | 18 mm |
| Waga | 0.804247 lb |
| Waga | 364.8 g |
| Parametry techniczne | |
| Adintms Adaptive Interface Machine Direction | SL head (screw mounted) -size 70 |
| Baws Workpiece Side Body Angle | 90 deg |
| Cdx Cutting Depth Maximum | 1.77165 inch |
| Cdx Cutting Depth Maximum | 45 mm |
| Cnsc Coolant Entry Style Code | 1: axial concentric entry |
| Cutint Master Part 2 Of Cutting Item Interface Identifiers | CoroCut 2 -size K (N123K2-GM) |
| Cxsc Coolant Exit Style Code | 7: axial inclined focused exit with nozzle |
| Hand Hand | R |
| Ohx Maximum Overhang | 0.590551 inch |
| Ohx Maximum Overhang | 15 mm |
| Ssc Insert Seat Size Code | K |
| Inne parametry | |
| Ean Number | 25857806 |
| Product Replacement Description - Pl-Pl | W pełni zamienny z oryginalnym produktem. |
| Replacement Product - Material Id | 8364140 |
| Replacement Product - Ordering Code | C2R-SL70-RK45AB |
| Replacement Product Url | https://www.sandvik.coromant.com/en-us/product-details?c=C2R-SL70-RK45AB |
Informacje o zamienniku:
W pełni zamienny z oryginalnym produktem.
Kod zamiennika: C2R-SL70-RK45AB
ID materiału zamiennika: 8364140