CoroCut® 1-2, głowica do toczenia rowków 570-25L123E15B ID:5764447 Sandvik
Cena regularna:
Cena regularna:
towar niedostępny
dodaj do przechowalni
Opis
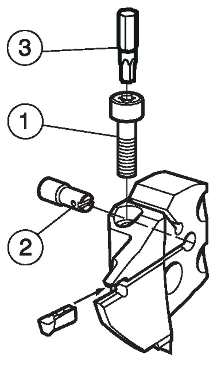
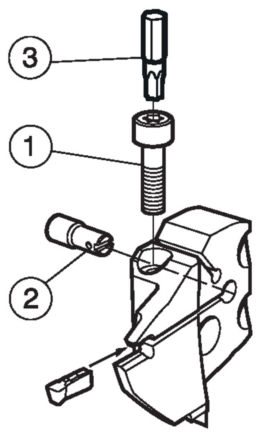
CoroCut® 1-2, głowica do toczenia rowków

| Podstawowe informacje | |
|---|---|
| Product Description - Pl-Pl | CoroCut® 1-2, głowica do toczenia rowków |
| Rodzina produktów | 1073 |
| Product Subfamily Code (Tsyc) | 570-xxR/L123..B |
| Rodzina produktów | Carriers for Concept Inserts |
| Country Of Origin | SE |
| Wymiary | |
| Dconms Connection Diameter | 0.984252 inch |
| Dconms Connection Diameter | 25 mm |
| Dmin1 Minimum Bore Diameter | 5.47244 inch |
| Dmin1 Minimum Bore Diameter | 139 mm |
| Lf Functional Length | 0.551181 inch |
| Lf Functional Length | 14 mm |
| Waga | 0.160276 lb |
| Waga | 72.7 g |
| Parametry techniczne | |
| Adintms Adaptive Interface Machine Direction | SL head (screw mounted) -size 25 |
| Baws Workpiece Side Body Angle | 90 deg |
| Cdx Cutting Depth Maximum | 0.590551 inch |
| Cdx Cutting Depth Maximum | 15 mm |
| Cnsc Coolant Entry Style Code | 1: axial concentric entry |
| Cutint Master Part 2 Of Cutting Item Interface Identifiers | CoroCut 2 -size E (N123E2-GM) |
| Cxsc Coolant Exit Style Code | 5: axial inclined exit with nozzle, adjustable |
| Hand Hand | L |
| Ohx Maximum Overhang | 0.511811 inch |
| Ohx Maximum Overhang | 13 mm |
| Ssc Insert Seat Size Code | E |
| Inne parametry | |
| Ean Number | 11795556 |