CoroCut® 1-2, głowica do toczenia rowków 570-32L123J18C ID:5764590 Sandvik
Cena regularna:
Cena regularna:
towar niedostępny
dodaj do przechowalni
Opis
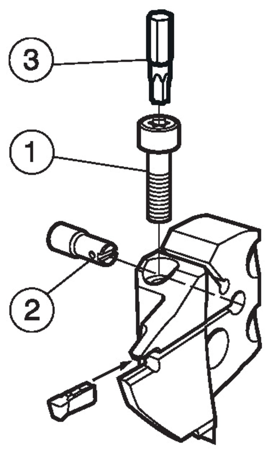
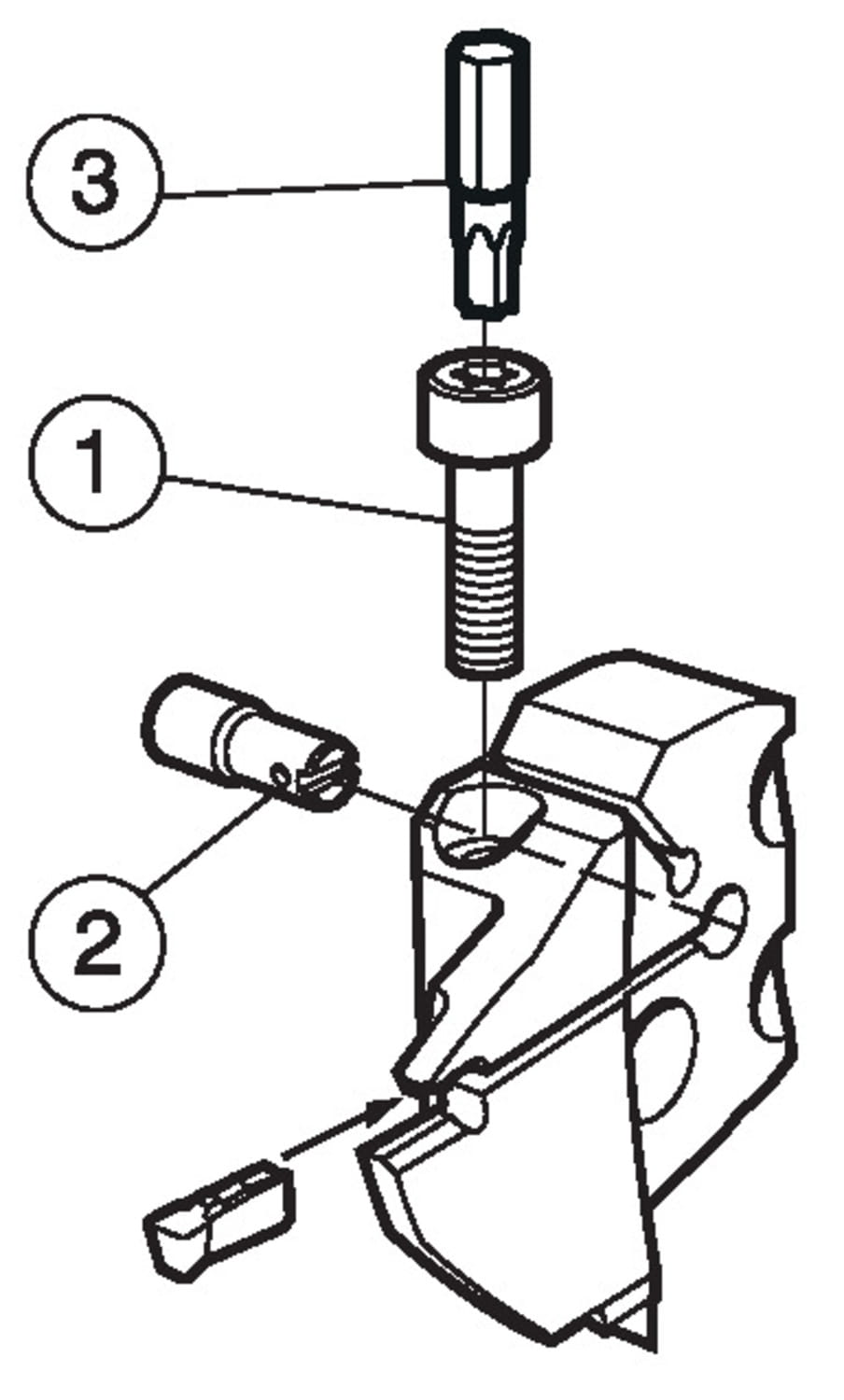
CoroCut® 1-2, głowica do toczenia rowków

| Podstawowe informacje | |
|---|---|
| Product Description - Pl-Pl | CoroCut® 1-2, głowica do toczenia rowków |
| Rodzina produktów | 1073 |
| Product Subfamily Code (Tsyc) | 570-xxR/L123..C |
| Rodzina produktów | Carriers for Concept Inserts |
| Country Of Origin | SE |
| Wymiary | |
| Dconms Connection Diameter | 1.25984 inch |
| Dconms Connection Diameter | 32 mm |
| Dmin1 Minimum Bore Diameter | 3.46457 inch |
| Dmin1 Minimum Bore Diameter | 88 mm |
| Lf Functional Length | 0.551181 inch |
| Lf Functional Length | 14 mm |
| Waga | 0.304238 lb |
| Waga | 138 g |
| Parametry techniczne | |
| Adintms Adaptive Interface Machine Direction | SL head (screw mounted) -size 32 |
| Baws Workpiece Side Body Angle | 90 deg |
| Cdx Cutting Depth Maximum | 0.708661 inch |
| Cdx Cutting Depth Maximum | 18 mm |
| Cnsc Coolant Entry Style Code | 1: axial concentric entry |
| Cutint Master Part 2 Of Cutting Item Interface Identifiers | CoroCut 2 -size J (N123J2-CM) |
| Cxsc Coolant Exit Style Code | 5: axial inclined exit with nozzle, adjustable |
| Hand Hand | L |
| Ohx Maximum Overhang | 0.610236 inch |
| Ohx Maximum Overhang | 15.5 mm |
| Ssc Insert Seat Size Code | J |
| Inne parametry | |
| Ean Number | 12048956 |
| Product Replacement Description - Pl-Pl | W pełni zamienny z oryginalnym produktem. |
| Replacement Product - Material Id | 8352954 |
| Replacement Product - Ordering Code | C2R-SL32-LJ18GC |
| Replacement Product Url | https://www.sandvik.coromant.com/en-us/product-details?c=C2R-SL32-LJ18GC |
Informacje o zamienniku:
W pełni zamienny z oryginalnym produktem.
Kod zamiennika: C2R-SL32-LJ18GC
ID materiału zamiennika: 8352954