CoroCut® 1-2, głowica do toczenia rowków 570-40L123H23B ID:5765146 Sandvik
Cena regularna:
Cena regularna:
towar niedostępny
dodaj do przechowalni
Opis
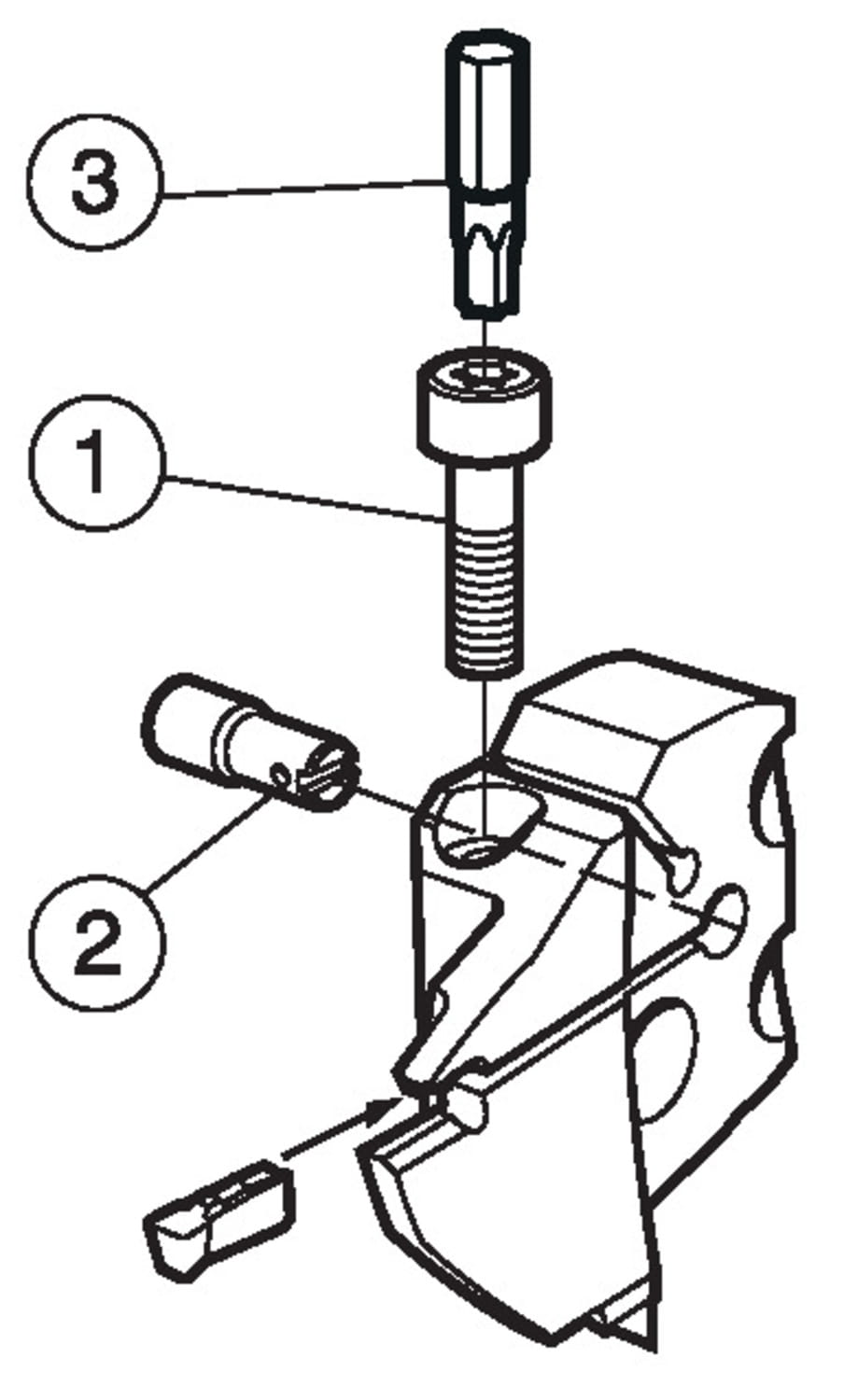
CoroCut® 1-2, głowica do toczenia rowków

| Podstawowe informacje | |
|---|---|
| Product Description - Pl-Pl | CoroCut® 1-2, głowica do toczenia rowków |
| Rodzina produktów | 1073 |
| Product Subfamily Code (Tsyc) | 570-xxR/L123..B |
| Rodzina produktów | Carriers for Concept Inserts |
| Country Of Origin | SE |
| Wymiary | |
| Dconms Connection Diameter | 1.5748 inch |
| Dconms Connection Diameter | 40 mm |
| Dmin1 Minimum Bore Diameter | 3.74016 inch |
| Dmin1 Minimum Bore Diameter | 95 mm |
| Lf Functional Length | 0.708661 inch |
| Lf Functional Length | 18 mm |
| Waga | 0.394187 lb |
| Waga | 178.8 g |
| Parametry techniczne | |
| Adintms Adaptive Interface Machine Direction | SL head (screw mounted) -size 40 |
| Baws Workpiece Side Body Angle | 90 deg |
| Cdx Cutting Depth Maximum | 0.905512 inch |
| Cdx Cutting Depth Maximum | 23 mm |
| Cnsc Coolant Entry Style Code | 1: axial concentric entry |
| Cutint Master Part 2 Of Cutting Item Interface Identifiers | CoroCut 2 -size H (N123H2-GM) |
| Cxsc Coolant Exit Style Code | 5: axial inclined exit with nozzle, adjustable |
| Hand Hand | L |
| Ohx Maximum Overhang | 0.629921 inch |
| Ohx Maximum Overhang | 16 mm |
| Ssc Insert Seat Size Code | H |
| Inne parametry | |
| Ean Number | 11807703 |
| Product Replacement Description - Pl-Pl | W pełni zamienny z oryginalnym produktem. |
| Replacement Product - Material Id | 8352950 |
| Replacement Product - Ordering Code | C2R-SL40-LH23GB |
| Replacement Product Url | https://www.sandvik.coromant.com/en-us/product-details?c=C2R-SL40-LH23GB |
Informacje o zamienniku:
W pełni zamienny z oryginalnym produktem.
Kod zamiennika: C2R-SL40-LH23GB
ID materiału zamiennika: 8352950