CoroCut® 1-2, głowica do toczenia rowków czołowych 570-32L123G18B067A ID:5764583 Sandvik
Cena regularna:
Cena regularna:
towar niedostępny
dodaj do przechowalni
Opis
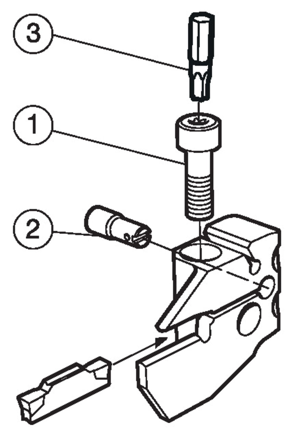
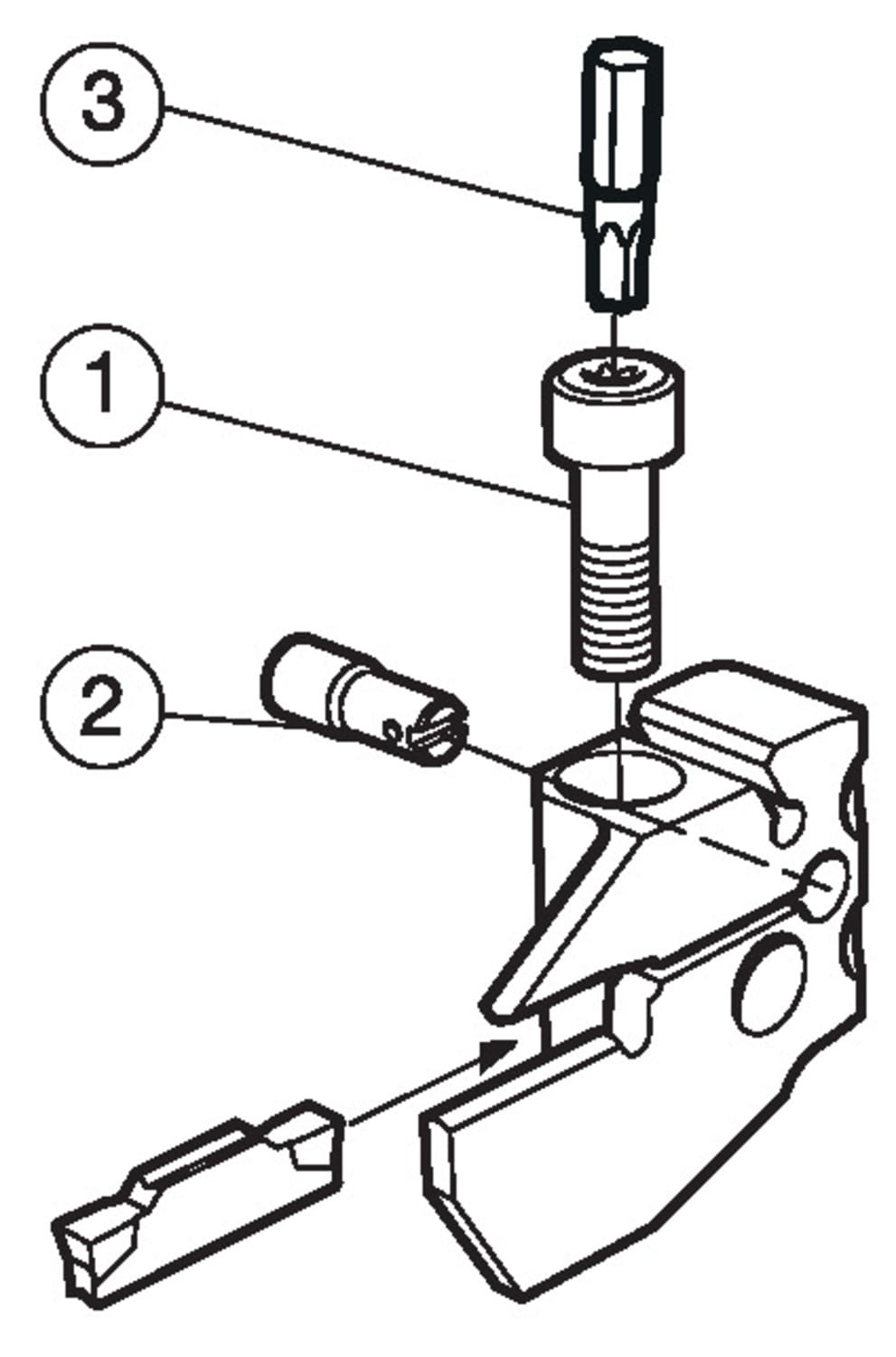
CoroCut® 1-2, głowica do toczenia rowków czołowych

| Podstawowe informacje | |
|---|---|
| Product Description - Pl-Pl | CoroCut® 1-2, głowica do toczenia rowków czołowych |
| Rodzina produktów | 1073 |
| Product Subfamily Code (Tsyc) | 570-xxR/L123..B..A |
| Rodzina produktów | Carriers for Concept Inserts |
| Country Of Origin | SE |
| Wymiary | |
| Daxin Axial Groove Inside Diameter Minimum | 2.6378 inch |
| Daxin Axial Groove Inside Diameter Minimum | 67 mm |
| Daxx Maximum Axial Groove Outside Diameter | 3.93701 inch |
| Daxx Maximum Axial Groove Outside Diameter | 100 mm |
| Dconms Connection Diameter | 1.25984 inch |
| Dconms Connection Diameter | 32 mm |
| Lf Functional Length | 0.551181 inch |
| Lf Functional Length | 14 mm |
| Waga | 0.191802 lb |
| Waga | 87 g |
| Parametry techniczne | |
| Adintms Adaptive Interface Machine Direction | SL head (screw mounted) -size 32 |
| Axgsup Axial Groove Support Direction | 1 |
| Baws Workpiece Side Body Angle | 90 deg |
| Cdx Cutting Depth Maximum | 0.708661 inch |
| Cdx Cutting Depth Maximum | 18 mm |
| Cnsc Coolant Entry Style Code | 1: axial concentric entry |
| Cutint Master Part 2 Of Cutting Item Interface Identifiers | CoroCut 2 -size G (N123G2-0300-0003-TF) |
| Cxsc Coolant Exit Style Code | 2: radial exit |
| Hand Hand | L |
| Ohx Maximum Overhang | 0.492126 inch |
| Ohx Maximum Overhang | 12.5 mm |
| Ssc Insert Seat Size Code | G |
| Inne parametry | |
| Ean Number | 12007133 |