Suwak do CoroBore® BR30 R820G-AR24SCFC12A ID:5747934 Sandvik
Cena regularna:
Cena regularna:
towar niedostępny
dodaj do przechowalni
Opis
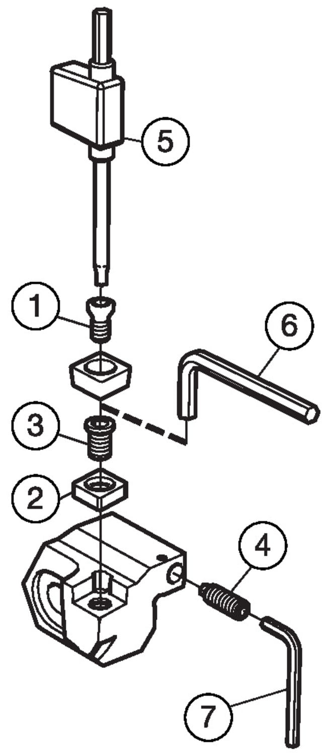
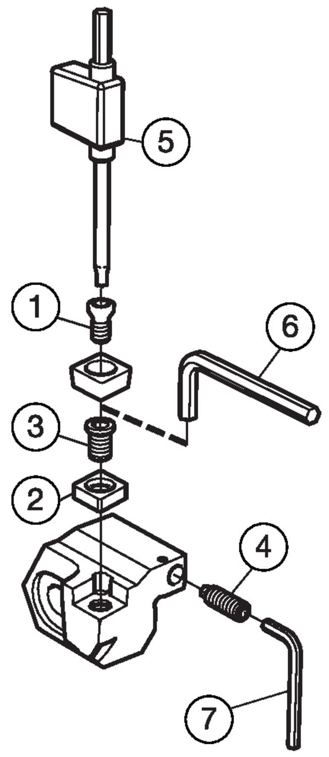
Suwak do CoroBore® BR30

| Podstawowe informacje | |
|---|---|
| Product Description - Pl-Pl | Suwak do CoroBore® BR30 |
| Rodzina produktów | 1112 |
| Product Subfamily Code (Tsyc) | R820..SCFC |
| Rodzina produktów | System Products |
| Country Of Origin | IN |
| Wymiary | |
| Dmin1 Minimum Bore Diameter | 5.35433 inch |
| Dmin1 Minimum Bore Diameter | 136 mm |
| Lf Functional Length | 0.944882 inch |
| Lf Functional Length | 24 mm |
| Oah Overall Height | 1.36614 inch |
| Oah Overall Height | 34.7 mm |
| Oaw Overall Width | 2.72441 inch |
| Oaw Overall Width | 69.2 mm |
| Waga | 0.678804 lb |
| Waga | 307.9 g |
| Parametry techniczne | |
| Adintms Adaptive Interface Machine Direction | CoroBore 820 -size G |
| Cnsc Coolant Entry Style Code | 0: without coolant |
| Cutint Master Part 2 Of Cutting Item Interface Identifiers | CCMT 120408 |
| Hand Hand | R |
| Kapr Tool Cutting Edge Angle | 90 deg |
| Inne parametry | |
| Ean Number | 11581802 |