T-Max®, narzędzie tokarskie z chwytem tradycyjnym DCLNR204D-2 ID:5731632 Sandvik
Cena regularna:
Cena regularna:
towar niedostępny
dodaj do przechowalni
Opis
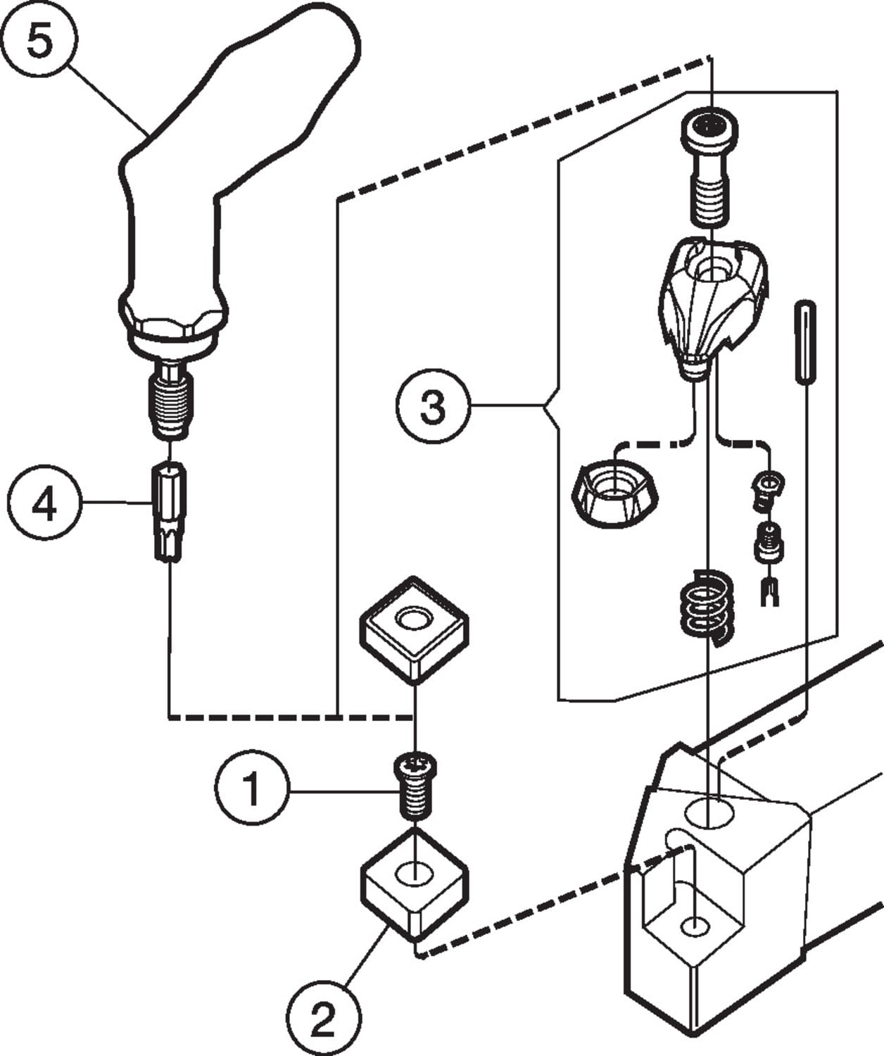
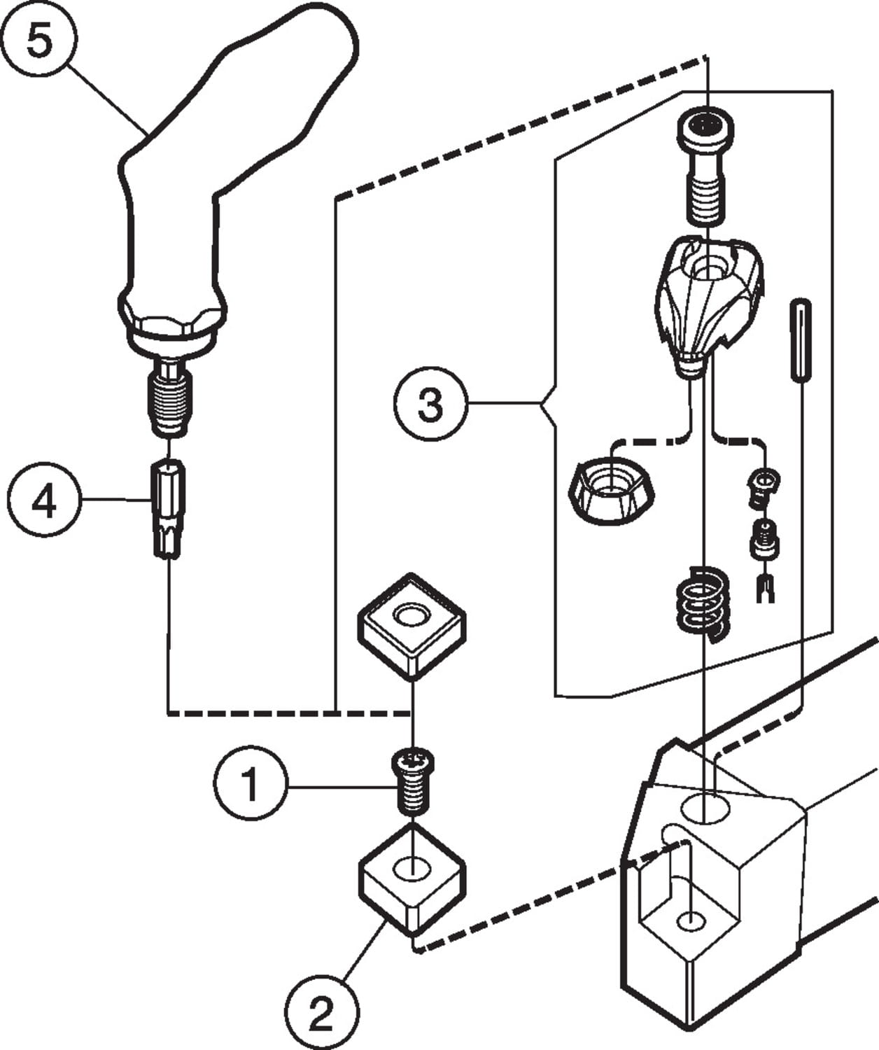
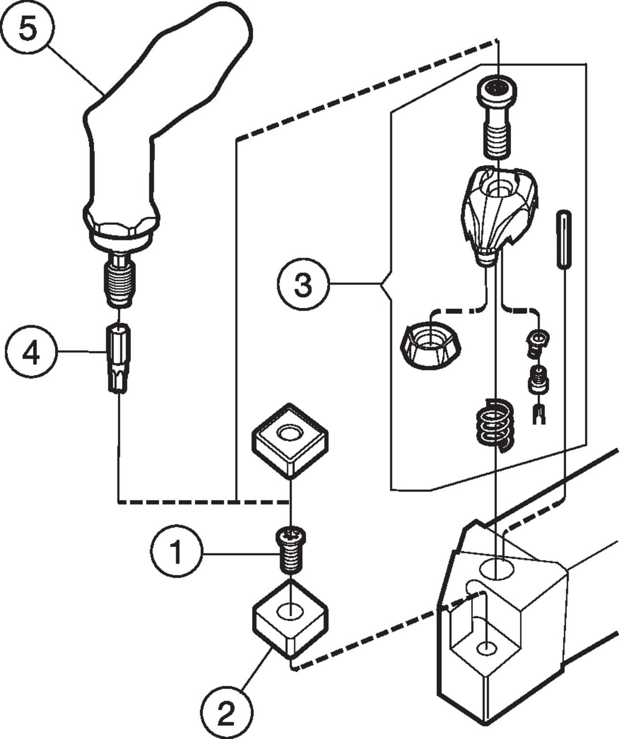
T-Max®, narzędzie tokarskie z chwytem tradycyjnym

| Podstawowe informacje | |
|---|---|
| Product Description - Pl-Pl | T-Max®, narzędzie tokarskie z chwytem tradycyjnym |
| Rodzina produktów | 1049 |
| Product Subfamily Code (Tsyc) | DCLNR/L..-2 (INCH) |
| Rodzina produktów | Carriers for Concept Inserts |
| Country Of Origin | IN |
| Wymiary | |
| B Shank Width | 1.25 inch |
| B Shank Width | 31.75 mm |
| H Shank Height | 1.25 inch |
| H Shank Height | 31.75 mm |
| Lf Functional Length | 6 inch |
| Lf Functional Length | 152.4 mm |
| Waga | 2.49784 lb |
| Waga | 1.133 g |
| Parametry techniczne | |
| Adintms Adaptive Interface Machine Direction | Rectangular shank -inch: 1 1/4 x 1 1/4 |
| Bams Machine Side Body Angle | 0 deg |
| Baws Workpiece Side Body Angle | 0 deg |
| Bmc Body Material Code | Steel |
| Cnsc Coolant Entry Style Code | 0: without coolant |
| Cutint Master Part 2 Of Cutting Item Interface Identifiers | CNGQ 120708 |
| Cxsc Coolant Exit Style Code | 0: no coolant exit |
| Dpc Damping Property | no |
| Hand Hand | R |
| Kapr Tool Cutting Edge Angle | 95 deg |
| Ohx Maximum Overhang | 1.25984 inch |
| Ohx Maximum Overhang | 32 mm |
| Psir Tool Lead Angle | -5 deg |
| Rmpx Maximum Ramping Angle | 0 deg |
| Inne parametry | |
| Ean Number | 80000823 |