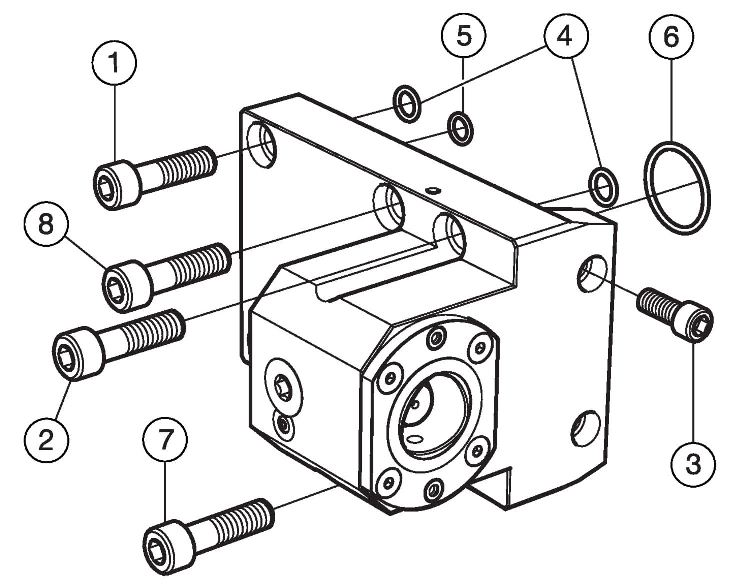
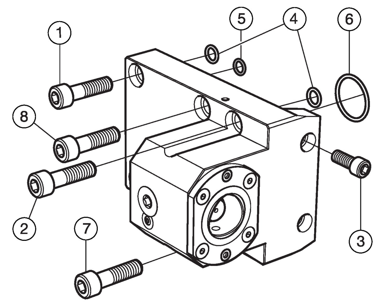
Uchwyty mocujące do obsługi ręcznej, do obrabiarek DMG MORI C6-TLI-MS75A ID:6144308 Sandvik
Cena regularna:
Cena regularna:
towar niedostępny
dodaj do przechowalni
Opis
Uchwyty mocujące do obsługi ręcznej, do obrabiarek DMG MORI

| Podstawowe informacje | |
|---|---|
| Product Description - Pl-Pl | Uchwyty mocujące do obsługi ręcznej, do obrabiarek DMG MORI |
| Rodzina produktów | 1147 |
| Product Subfamily Code (Tsyc) | Cx-TR/LI-MS75/110 |
| Rodzina produktów | System Products |
| Country Of Origin | DE |
| Wymiary | |
| Dconms Connection Diameter | 2.95276 inch |
| Dconms Connection Diameter | 75 mm |
| Dconws Connection Diameter | 2.48031 inch |
| Dconws Connection Diameter | 63 mm |
| Dfc Functional Diameter | 1.73228 inch |
| Dfc Functional Diameter | 44 mm |
| Lf Functional Length | 3.14961 inch |
| Lf Functional Length | 80 mm |
| Oah Overall Height | 5.35433 inch |
| Oah Overall Height | 136 mm |
| Oaw Overall Width | 8.85827 inch |
| Oaw Overall Width | 225 mm |
| Waga | 46.716 lb |
| Waga | 21.19 g |
| Parametry techniczne | |
| Adintms Adaptive Interface Machine Direction | Mori Seiki non-driven turret interface -size MS75A |
| Adintws Adaptive Interface Workpiece Direction | Coromant Capto (segment clamping) -size C6 |
| Baws Workpiece Side Body Angle | 90 deg |
| Cnsc Coolant Entry Style Code | 7: decentral over flange and axial |
| Cxsc Coolant Exit Style Code | 2: radial exit |
| Hand Hand | L |
| Inne parametry | |
| Ean Number | 26144308 |