Wkładka do wytaczania CoroBore® BR20 BR20-BB-TC09F-11 ID:7591821 Sandvik
Cena regularna:
Cena regularna:
towar niedostępny
dodaj do przechowalni
Opis
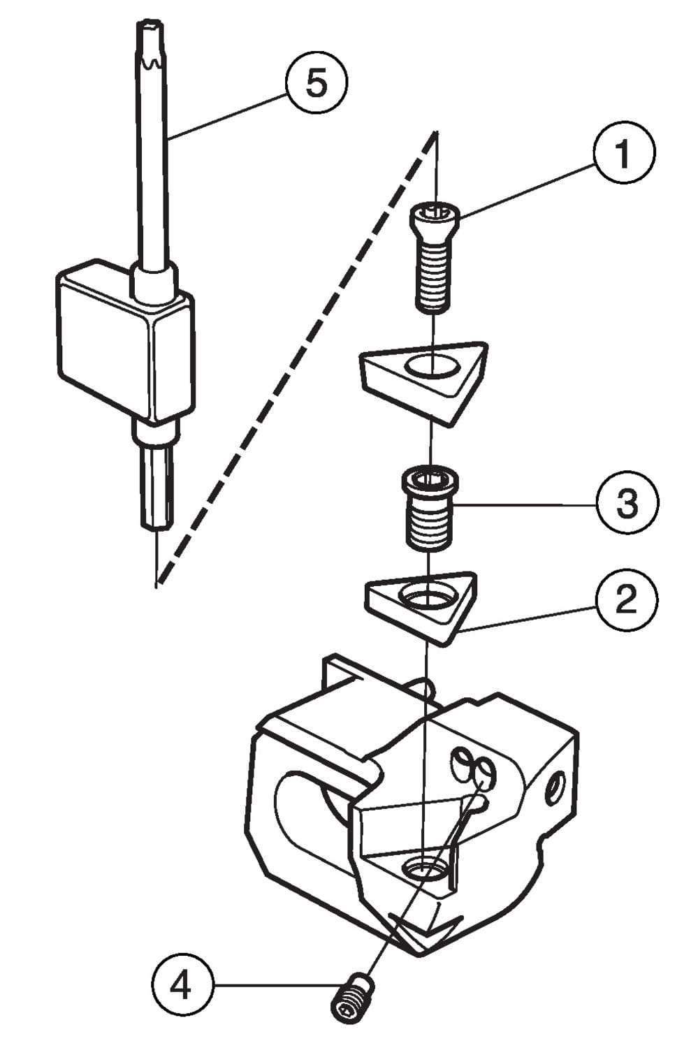
Wkładka do wytaczania CoroBore® BR20

| Podstawowe informacje | |
|---|---|
| Product Description - Pl-Pl | Wkładka do wytaczania CoroBore® BR20 |
| Rodzina produktów | 2089 |
| Product Subfamily Code (Tsyc) | BR20..TC..F |
| Rodzina produktów | System Products |
| Country Of Origin | IN |
| Wymiary | |
| Dmin1 Minimum Bore Diameter | 1.10236 inch |
| Dmin1 Minimum Bore Diameter | 28 mm |
| Lf Functional Length | 0.440945 inch |
| Lf Functional Length | 11.2 mm |
| Oah Overall Height | 0.551181 inch |
| Oah Overall Height | 14 mm |
| Oaw Overall Width | 0.811024 inch |
| Oaw Overall Width | 20.6 mm |
| Waga | 0.055116 lb |
| Waga | 25 g |
| Parametry techniczne | |
| Adintms Adaptive Interface Machine Direction | BR20 slide -size B (side B) |
| Cnsc Coolant Entry Style Code | 2: radial entry |
| Cutint Master Part 2 Of Cutting Item Interface Identifiers | TCMT 090204 |
| Hand Hand | R |
| Kapr Tool Cutting Edge Angle | 90 deg |
| Inne parametry | |
| Ean Number | 7323223833105 |