Wkładka do wytaczania CoroBore® BR20 BR20-GA-TC16F-22 ID:7591830 Sandvik
Cena regularna:
Cena regularna:
towar niedostępny
dodaj do przechowalni
Opis
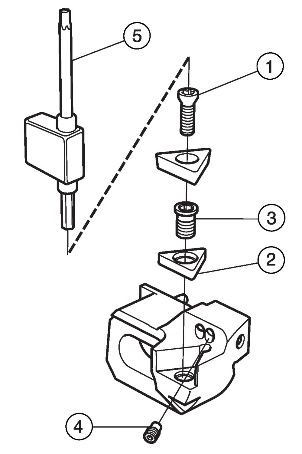
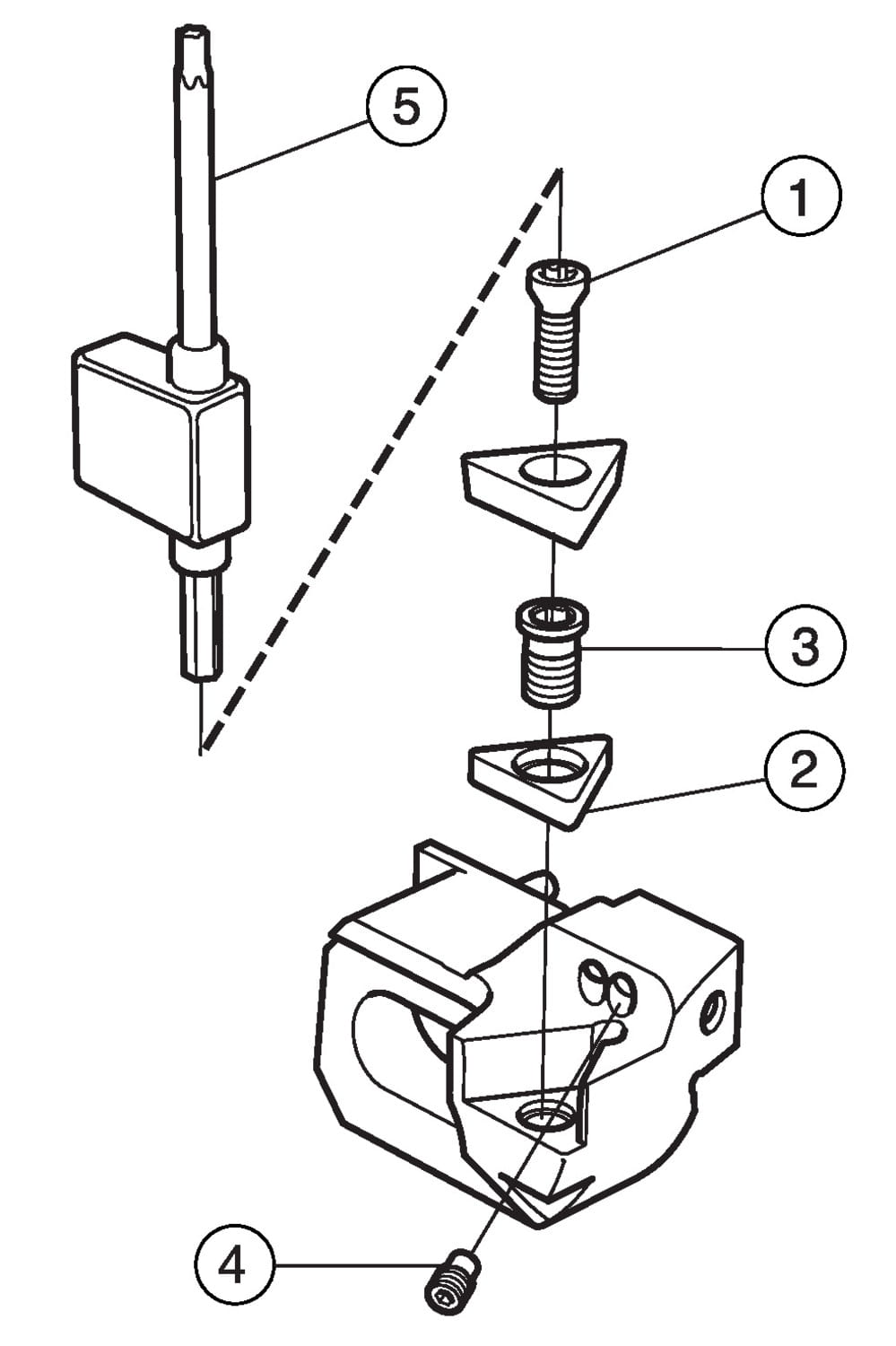
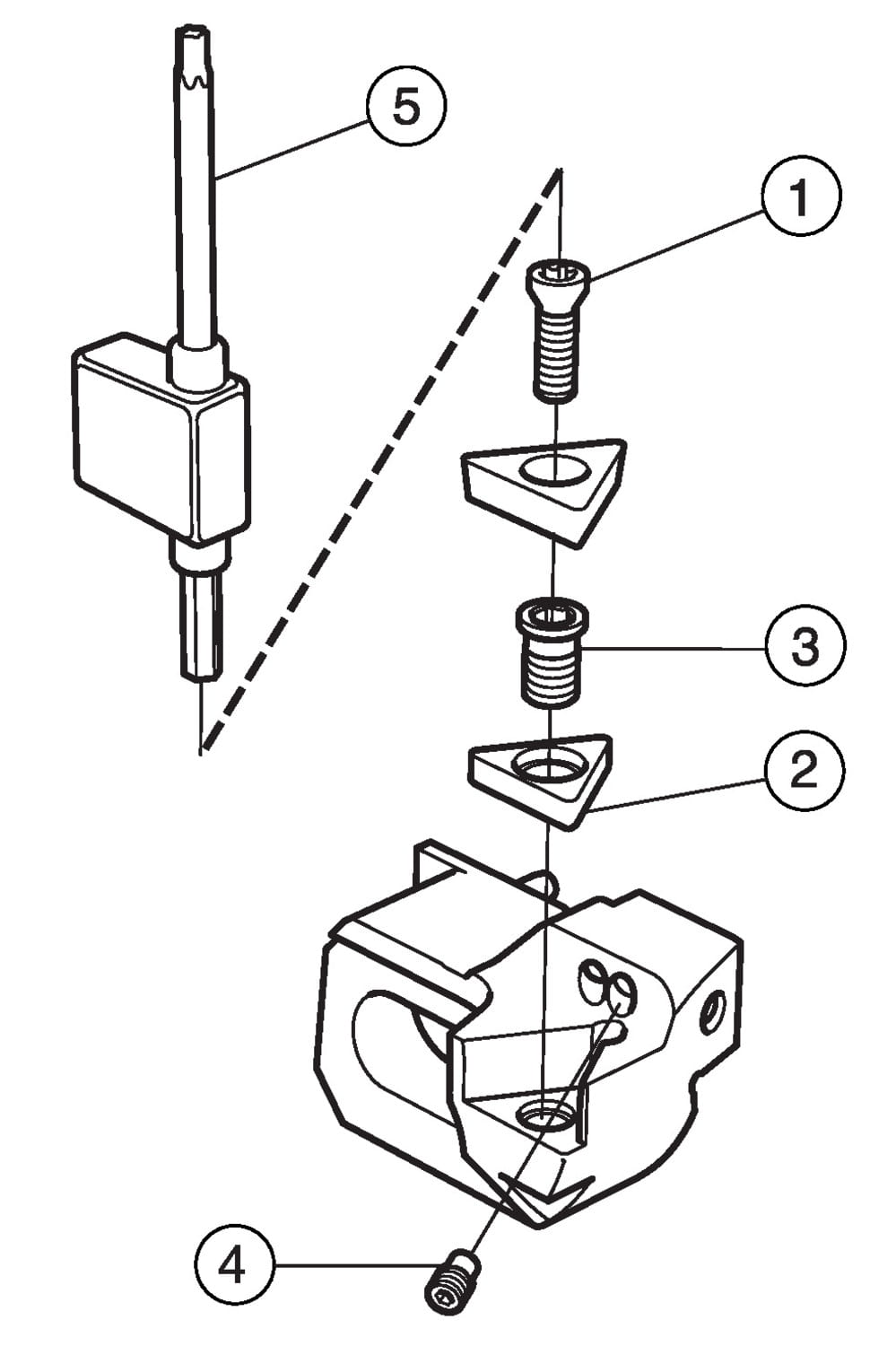
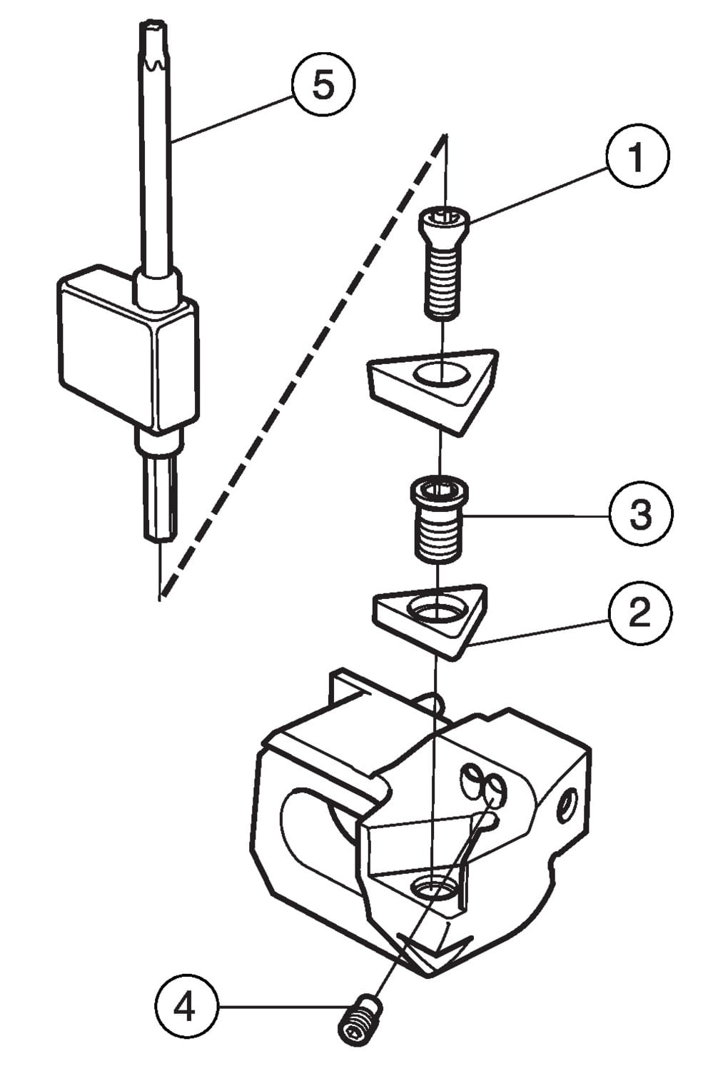
Wkładka do wytaczania CoroBore® BR20

| Podstawowe informacje | |
|---|---|
| Product Description - Pl-Pl | Wkładka do wytaczania CoroBore® BR20 |
| Rodzina produktów | 2089 |
| Product Subfamily Code (Tsyc) | BR20..TC..F |
| Rodzina produktów | System Products |
| Country Of Origin | IN |
| Wymiary | |
| Dmin1 Minimum Bore Diameter | 3.50394 inch |
| Dmin1 Minimum Bore Diameter | 89 mm |
| Lf Functional Length | 0.866142 inch |
| Lf Functional Length | 22 mm |
| Oah Overall Height | 1.29134 inch |
| Oah Overall Height | 32.8 mm |
| Oaw Overall Width | 2.40157 inch |
| Oaw Overall Width | 61 mm |
| Waga | 0.396832 lb |
| Waga | 180 g |
| Parametry techniczne | |
| Adintms Adaptive Interface Machine Direction | BR20 slide -size G (side A) |
| Cnsc Coolant Entry Style Code | 2: radial entry |
| Cutint Master Part 2 Of Cutting Item Interface Identifiers | TCMT 16T308 |
| Hand Hand | R |
| Kapr Tool Cutting Edge Angle | 90 deg |
| Inne parametry | |
| Ean Number | 7323223833198 |