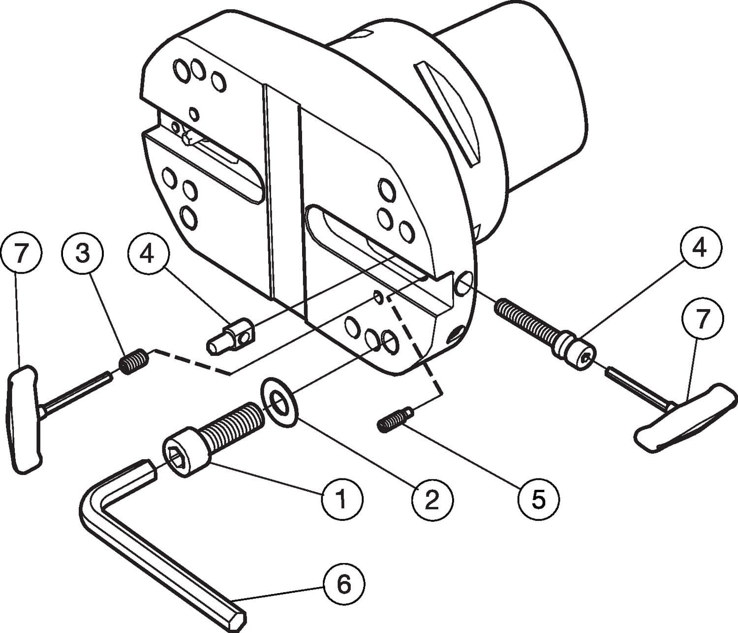
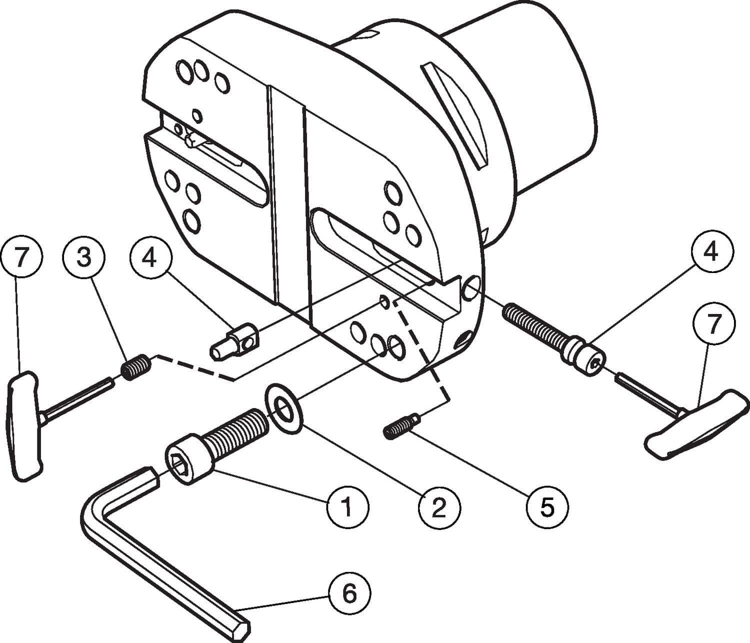
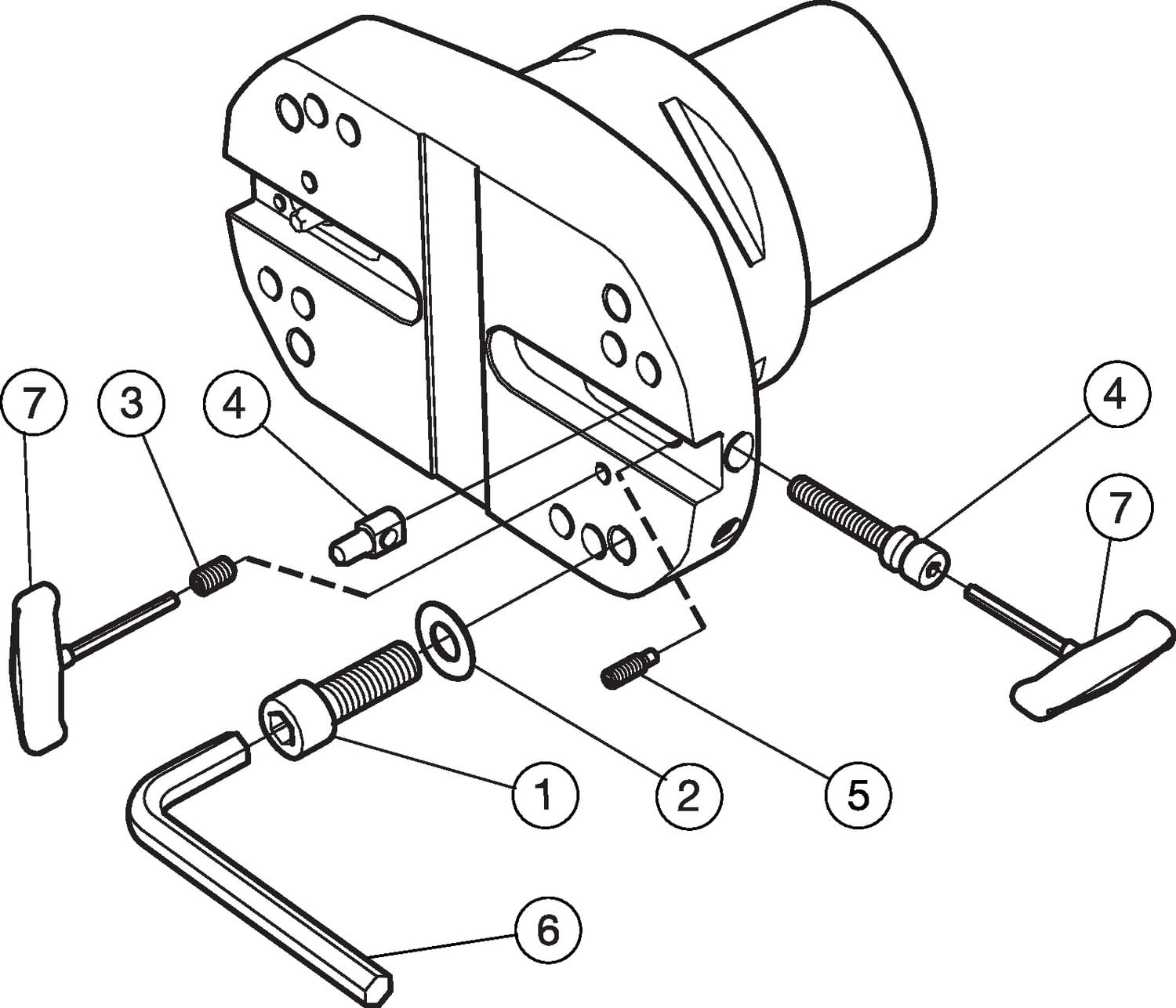
Z Coromant Capto® na lekki korpus narzędziowy CoroBore® XL C8-R825XLS17-LL170 ID:6424063 Sandvik
Cena regularna:
Cena regularna:
towar niedostępny
dodaj do przechowalni
Opis
Z Coromant Capto® na lekki korpus narzędziowy CoroBore® XL

| Podstawowe informacje | |
|---|---|
| Product Description - Pl-Pl | Z Coromant Capto® na lekki korpus narzędziowy CoroBore® XL |
| Rodzina produktów | 2022 |
| Product Subfamily Code (Tsyc) | Cx-R825XLS17 |
| Rodzina produktów | System Products |
| Country Of Origin | DE |
| Wymiary | |
| Średnica skrawania | 9.76378 inch |
| Średnica skrawania | 248 mm |
| Średnica skrawania | 11.811 inch |
| Średnica skrawania | 300 mm |
| Lf Functional Length | 6.69291 inch |
| Lf Functional Length | 170 mm |
| Oah Overall Height | 4.09449 inch |
| Oah Overall Height | 104 mm |
| Waga | 12.3128 lb |
| Waga | 5.585 g |
| Parametry techniczne | |
| Adintms Adaptive Interface Machine Direction | Coromant Capto (bolt and segment clamping) -size C8 |
| Adintws Adaptive Interface Workpiece Direction | Boring Slide -size S17F |
| Bmc Body Material Code | Steel and aluminium |
| Cnsc Coolant Entry Style Code | 3: axial concentric and radial entry |
| Inne parametry | |
| Ean Number | 26424063 |