Z trzpienia na nasadkę CoroBore® XL A40-NXLA35-AR2106 ID:5924280 Sandvik
Cena regularna:
Cena regularna:
towar niedostępny
dodaj do przechowalni
Opis
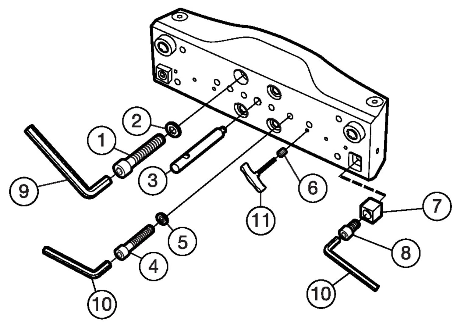
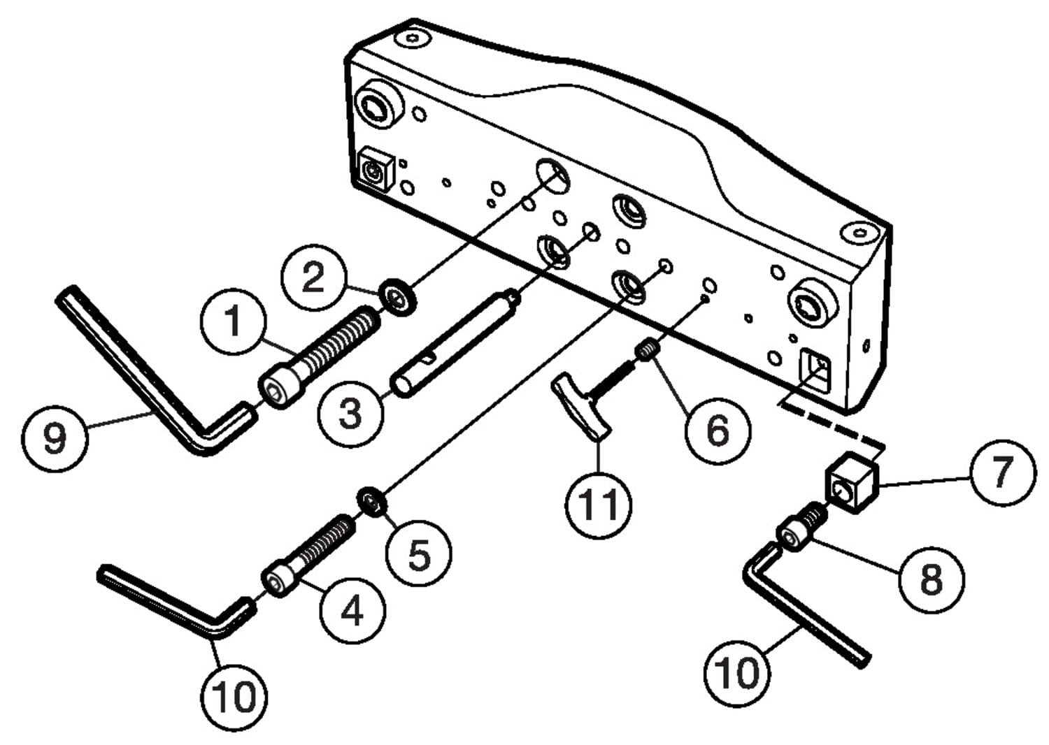
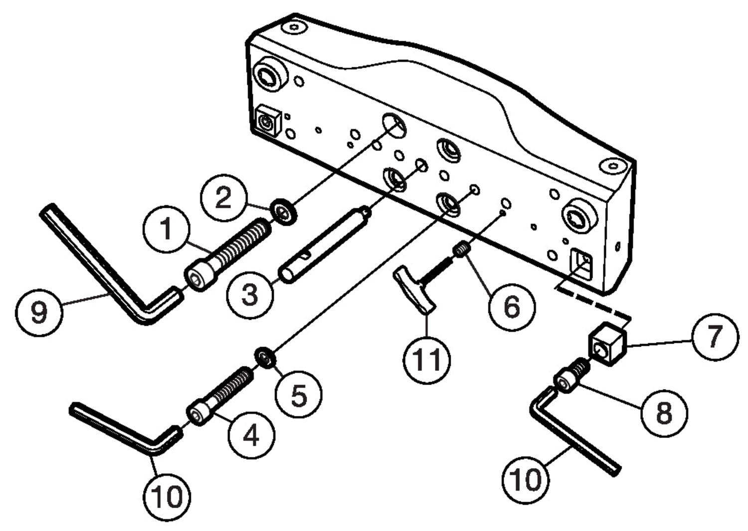
Z trzpienia na nasadkę CoroBore® XL

| Podstawowe informacje | |
|---|---|
| Product Description - Pl-Pl | Z trzpienia na nasadkę CoroBore® XL |
| Rodzina produktów | 2022 |
| Product Subfamily Code (Tsyc) | A40-NXLA35 |
| Rodzina produktów | System Products |
| Country Of Origin | DE |
| Wymiary | |
| Średnica skrawania | 40.0787 inch |
| Średnica skrawania | 1018 mm |
| Średnica skrawania | 49.6063 inch |
| Średnica skrawania | 1260 mm |
| Lf Functional Length | 4.17323 inch |
| Lf Functional Length | 106 mm |
| Oah Overall Height | 6.45669 inch |
| Oah Overall Height | 164 mm |
| Waga | 81.5711 lb |
| Waga | 37 g |
| Parametry techniczne | |
| Adintms Adaptive Interface Machine Direction | CoroBore XL Arbor -metric: 40X |
| Adintws Adaptive Interface Workpiece Direction | CoroBore XL Bridge Extension -size A35 |
| Bmc Body Material Code | Aluminium |
| Cnsc Coolant Entry Style Code | 1: axial concentric entry |
| Inne parametry | |
| Ean Number | 25924280 |