Zestaw suwaków do CoroBore® BR10 BR10-DA-CC06F-00 ID:7255154 Sandvik
Cena regularna:
Cena regularna:
towar niedostępny
dodaj do przechowalni
Opis
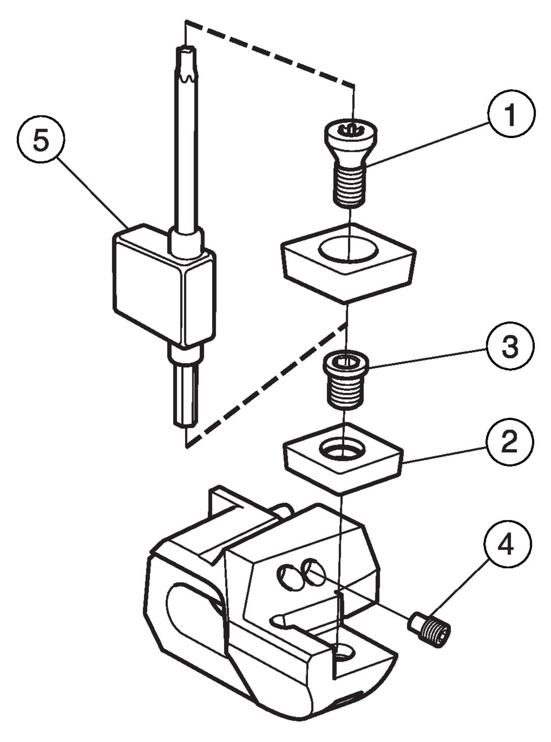
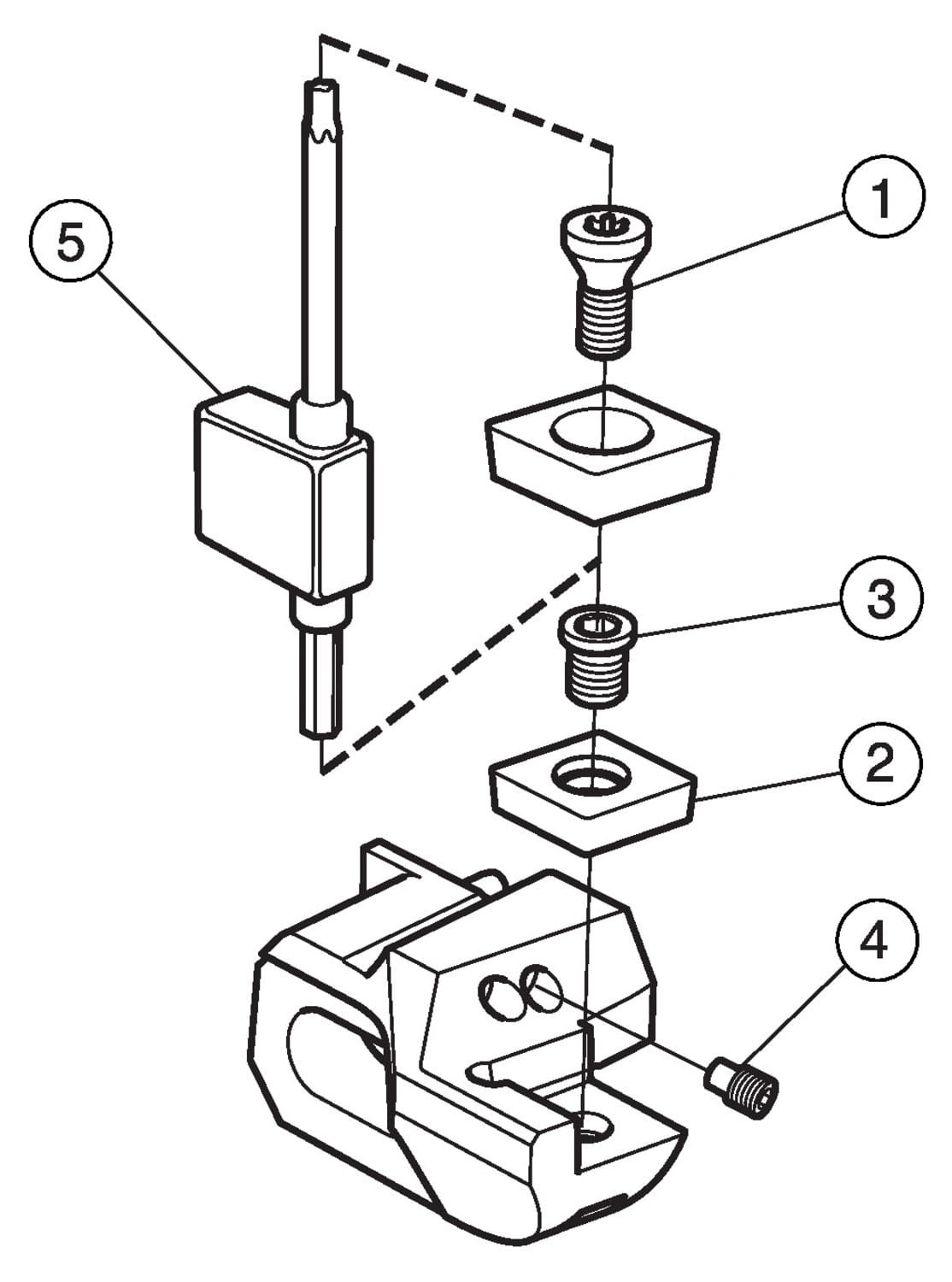
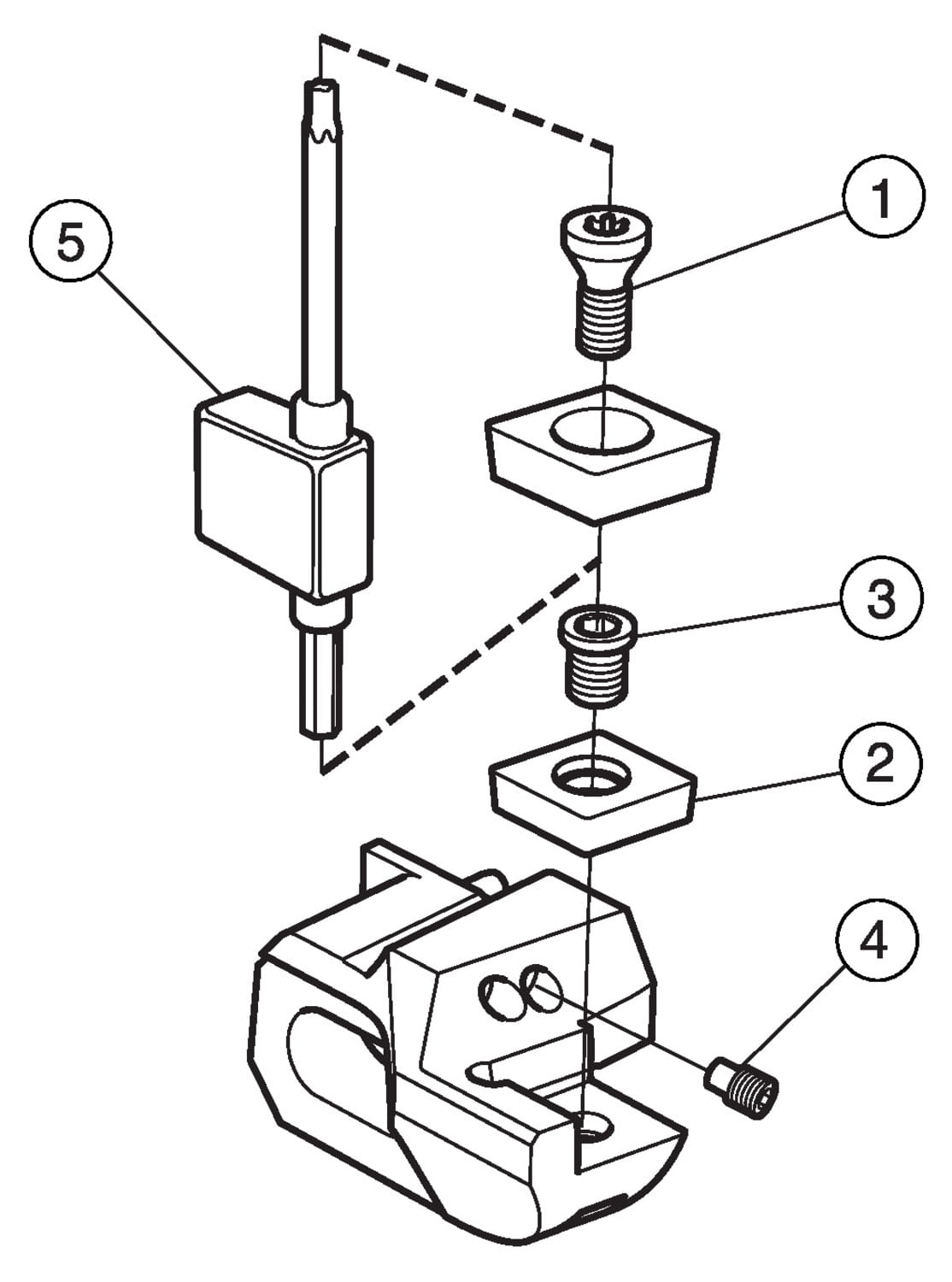
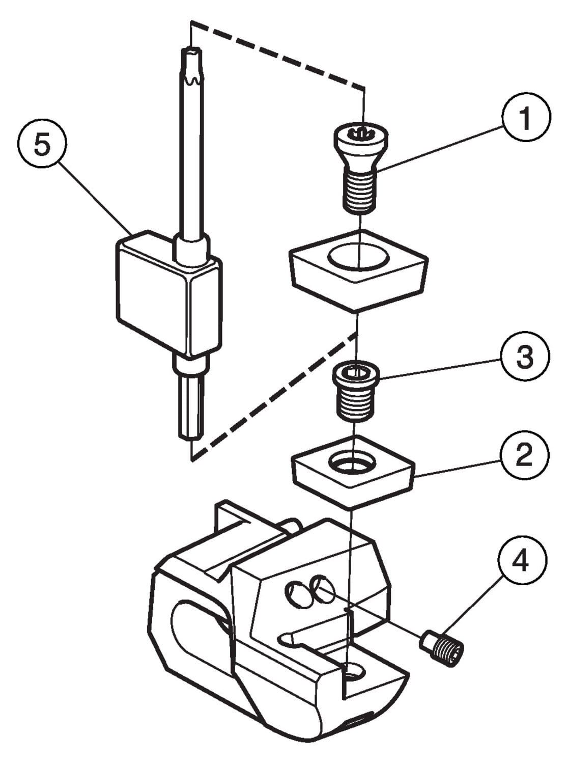
Zestaw suwaków do CoroBore® BR10

| Podstawowe informacje | |
|---|---|
| Product Description - Pl-Pl | Zestaw suwaków do CoroBore® BR10 |
| Rodzina produktów | 2091 |
| Product Subfamily Code (Tsyc) | BR10..CC..F |
| Rodzina produktów | System Products |
| Country Of Origin | IN |
| Wymiary | |
| Dmin1 Minimum Bore Diameter | 2.08661 inch |
| Dmin1 Minimum Bore Diameter | 53 mm |
| Lf Functional Length | 0 inch |
| Lf Functional Length | 0 mm |
| Oah Overall Height | 0.846457 inch |
| Oah Overall Height | 21.5 mm |
| Oaw Overall Width | 1.39764 inch |
| Oaw Overall Width | 35.5 mm |
| Waga | 0.101413 lb |
| Waga | 46 g |
| Parametry techniczne | |
| Adintms Adaptive Interface Machine Direction | BR10 slide -size D (side A) |
| Cnsc Coolant Entry Style Code | 1: axial concentric entry |
| Cutint Master Part 2 Of Cutting Item Interface Identifiers | CCMT 060204 |
| Hand Hand | L |
| Kapr Tool Cutting Edge Angle | 90 deg |
| Inne parametry | |
| Ean Number | 7323221824686 |