Zestaw suwaków do CoroBore® BR20 BR20-DB-CC09F-13 ID:7216868 Sandvik
Cena regularna:
Cena regularna:
towar niedostępny
dodaj do przechowalni
Opis
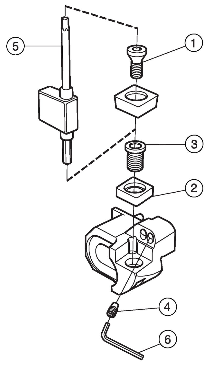
Zestaw suwaków do CoroBore® BR20

| Podstawowe informacje | |
|---|---|
| Product Description - Pl-Pl | Zestaw suwaków do CoroBore® BR20 |
| Rodzina produktów | 2089 |
| Product Subfamily Code (Tsyc) | BR20..CC..F |
| Rodzina produktów | System Products |
| Country Of Origin | IN |
| Wymiary | |
| Dmin1 Minimum Bore Diameter | 1.73228 inch |
| Dmin1 Minimum Bore Diameter | 44 mm |
| Lf Functional Length | 0.519685 inch |
| Lf Functional Length | 13.2 mm |
| Oah Overall Height | 0.846457 inch |
| Oah Overall Height | 21.5 mm |
| Oaw Overall Width | 1.22835 inch |
| Oaw Overall Width | 31.2 mm |
| Waga | 0.057541 lb |
| Waga | 26.1 g |
| Parametry techniczne | |
| Adintms Adaptive Interface Machine Direction | BR20 slide -size D (side B) |
| Cnsc Coolant Entry Style Code | 1: axial concentric entry |
| Cutint Master Part 2 Of Cutting Item Interface Identifiers | CCMT 09T308 |
| Hand Hand | R |
| Kapr Tool Cutting Edge Angle | 90 deg |
| Inne parametry | |
| Ean Number | 7323221655075 |