Zestaw suwaków do CoroBore® BR20 BR20-EA-CC12F-18 ID:7216847 Sandvik
Cena regularna:
Cena regularna:
towar niedostępny
dodaj do przechowalni
Opis
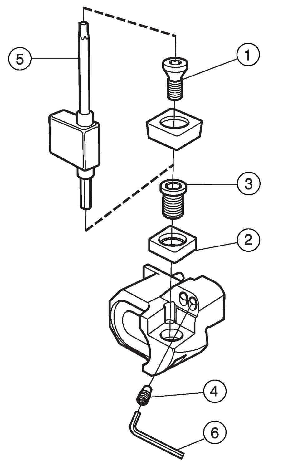
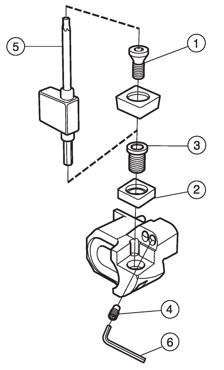
Zestaw suwaków do CoroBore® BR20

| Podstawowe informacje | |
|---|---|
| Product Description - Pl-Pl | Zestaw suwaków do CoroBore® BR20 |
| Rodzina produktów | 2089 |
| Product Subfamily Code (Tsyc) | BR20..CC..F |
| Rodzina produktów | System Products |
| Country Of Origin | IN |
| Wymiary | |
| Dmin1 Minimum Bore Diameter | 2.16535 inch |
| Dmin1 Minimum Bore Diameter | 55 mm |
| Lf Functional Length | 0.708661 inch |
| Lf Functional Length | 18 mm |
| Oah Overall Height | 1.05512 inch |
| Oah Overall Height | 26.8 mm |
| Oaw Overall Width | 1.51575 inch |
| Oaw Overall Width | 38.5 mm |
| Waga | 0.216053 lb |
| Waga | 98 g |
| Parametry techniczne | |
| Adintms Adaptive Interface Machine Direction | BR20 slide -size E (side A) |
| Cnsc Coolant Entry Style Code | 1: axial concentric entry |
| Cutint Master Part 2 Of Cutting Item Interface Identifiers | CCMT 120408 |
| Hand Hand | R |
| Kapr Tool Cutting Edge Angle | 90 deg |
| Inne parametry | |
| Ean Number | 7323221654863 |