Zestaw suwaków do CoroBore® BR20 BR20-FB-CC12F-20 ID:7216874 Sandvik
Cena regularna:
Cena regularna:
towar niedostępny
dodaj do przechowalni
Opis
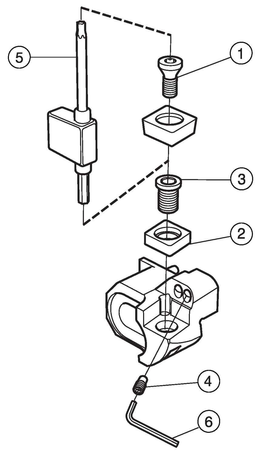
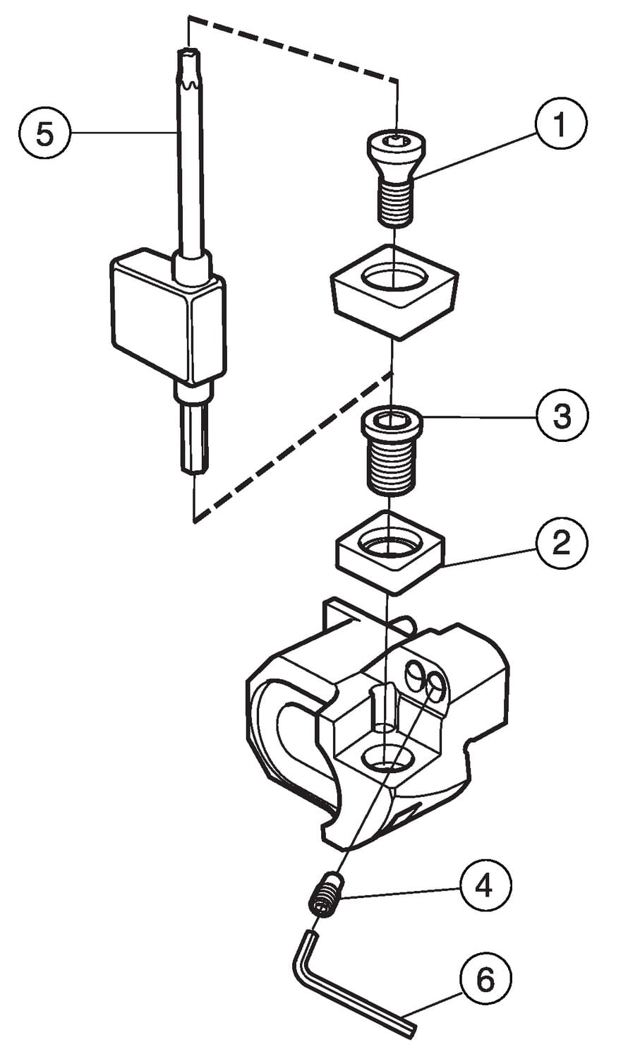
Zestaw suwaków do CoroBore® BR20

| Podstawowe informacje | |
|---|---|
| Product Description - Pl-Pl | Zestaw suwaków do CoroBore® BR20 |
| Rodzina produktów | 2089 |
| Product Subfamily Code (Tsyc) | BR20..CC..F |
| Rodzina produktów | System Products |
| Country Of Origin | IN |
| Wymiary | |
| Dmin1 Minimum Bore Diameter | 2.75591 inch |
| Dmin1 Minimum Bore Diameter | 70 mm |
| Lf Functional Length | 0.799213 inch |
| Lf Functional Length | 20.3 mm |
| Oah Overall Height | 1.21654 inch |
| Oah Overall Height | 30.9 mm |
| Oaw Overall Width | 1.88976 inch |
| Oaw Overall Width | 48 mm |
| Waga | 0.289908 lb |
| Waga | 131.5 g |
| Parametry techniczne | |
| Adintms Adaptive Interface Machine Direction | BR20 slide -size F (side B) |
| Cnsc Coolant Entry Style Code | 1: axial concentric entry |
| Cutint Master Part 2 Of Cutting Item Interface Identifiers | CCMT 120408 |
| Hand Hand | R |
| Kapr Tool Cutting Edge Angle | 90 deg |
| Inne parametry | |
| Ean Number | 7323221655136 |